时间:2022-07-20 08:59
人气:
作者:admin
MS5611描述
MS5611D是一款12bit单通道输出的电压型DAC,接口采用四线串口模式,可以兼容TMS320、SPI、QSPI和Microwire串口。
MS5611D控制数据有16bit,包括控制字节,和12bitDAC数据。MS5611D具有两组电源,数字电源DVDD和模拟电源AVDD,电源范围 是2.7V 到5.5V 。电 阻串 输出接 到一个 AB类输 出轨 到轨buffer,其增益是6dB放大输出,输出bufffer提高了稳定性且降低了建立时间。MS5611D具有掉电模式,可以优化工作时的功耗。
MS5611D 采用 DFN12 封装。
主要特点
12bit 精度
可编程建立时间 3us 或 9us
兼容 TMS320,SPI,QSPI,Microwire 接口
内部上电复位
低功耗,5V 时 8mW,3V 时 3.6mW
集成 REF 缓冲器
输出范围是 2 倍的基准电压
对温度不敏感
软件、硬件 Power down
电源电压:2.7V5.5V
应用
数字伺服系统控制
数字补偿和增益调节
工业过程控制
机械和移动控制设备
大容量存储设备
封装图

管脚图

管脚说明图

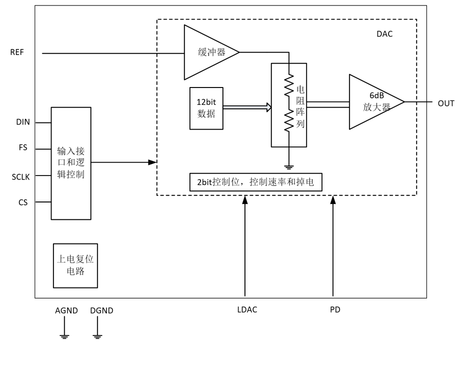
内部框图

电气参数



时序图

应用说明
总体功能
MS5611D 是一个 12bit 单电源的数模转换器,其架构采用电阻阵列结构,集成了串行接口、速率和关断逻辑控制、基准输入缓冲器、电阻串和输出轨到轨放大器。
输出电压可以表示为:

串行接口
器件必须设置在 CS 为低电平时有效,然后在 FS 的下降沿开始按位输入数据(开始为高电平有效),在 16bit 都被转移后或 FS 变高时,内部 DAC 更新对应的输出电平。
MS5611D 串口可以采用两个基本模式:四线(使用片选 CS)和三线(不使用片选 CS),使用片选使得多个器件可以连接到串行口德数据源(DSP 或 MCU),且接口和 TMS321 类兼容。下图给出了2 个 MS5611D 接到 TMS320DSP 的示例。

串行时钟速率和数据更新速率
如果串行总线上只有一个器件,那么 CS 可以接恒定低电平。下图给出了 MS5611D 如何在 SPI 或Microwire 接口三线引脚连接到一个 TMS320 的例子。

最大时钟速率为:

最大更新速率如下:

数据格式

PWR:功耗控制,1 为关断模式,0 为正常工作模式;
SPD:速率控制,1 为快速模式,0 为慢速模式;
A1、A0 为内部控制为,必须固定为 01;
电源供电旁路和地管理
为了提高系统性能,PCB 设计时应将模拟地和数字地分别接不同的地连接层,两个地板面应在系统的低阻抗节点处连接在一起。最好将 DAC 的 AGND 连到系统的模拟地,以确保模拟地电流能够很好的管理,且模拟地连接线的的压降可忽略。
芯片电源和地之间应接 0.1uF 的陶瓷去耦电容,且安装在离芯片尽可能近的地方。使用磁环可进一步将系统的模拟电源和数字电源分开。
龙腾半导体SGT MOSFET LSGT085R018在智慧农业无