在发射机的前级电路中,调制振荡电路所产生的
射频信号功率很小,需要经过一系列的放大获得足够的射频功率以后,才能发送到
天线上辐射出去。为了获得足够大的射频输出功率,必须采用射频
放大器,射频放大器因此也成为了无线发射机的重要组成部分。
当前
5G时代到来,对基站产品而言,MM已成主流,单通道输出功率已并不高,当前对功放的需求的是小型化,集成化以及高宽带。当前分离方案小型化已经做到很极致了,集成方向亦是大势所趋。射频放大器的主要技术指标体现在频率范围、增益、噪声系数和回波损耗上。除开大势所趋的走向,目前市场选择对于射频放大器的考量主要在宽频率范围、线性OIP3性能、噪声系数这些指标上。
全差分放大器
射频全差分放大器作为放大器里的细分类别,依靠高宽带以及出色线性度和噪声性能可取代射频信号链中的无源平衡-非平衡变压器和增益级。
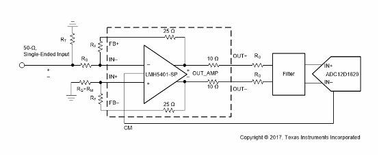
LMH5401-SP是
TI的耐辐射加固保障 (RHA) 6.5GHz 超宽带全差分放大器。

(LMH5401-SP,TI)
LMH5401-SP 是一款针对射频 (
RF)、中频 (IF) 或高速直流
耦合时域应用优化的高性能耐辐射
差分放大器。这个器件在SE-DE或差分至差分 (DE-DE) 模式下运行时会产生非常低的二阶和三阶失真。该放大器针对SE-DE和DE-DE系统做了相应的优化,具有直流到2GHz的超高可用带宽。LMH5401-SP广泛应用在如测试与测量、宽带
通信以及高速数据采集中,用于在信号链中进行SE-DE转换,同时无需外部平衡—非平衡变压器。
LMH5401-SP 的可选
电源范围介于3.3V和5V之间,并且可根据应用要求支持双电源供电。掉电功能还可实现节能。只是当器件由5V电源供电且达到 300mW 超低功耗时,这一性能等级才能实现。值得一提的是这个系列采用了TI先进的互补BiCMOS工艺,在空间上有极大的节省。
不同于TI的思路,
ADI旨在通过差分输入和输出架构更好地抑制高频PSRR和CMRR。差分输入和输出还可通过降低
ADC接收到的总谐波失真,从而带来系统改进。
ADL5580是目前ADI最新的全差分放大器,具有10 dB的电压增益,并针对直流至10.0 GHz范围的应用进行了优化。

(ADL5580,ADI)
该系列在很宽的频率范围内,能提供2.24 nV/√Hz的低折合到输入噪声谱密度 (在1000 MHz 时),同时对失真做了优化。ADL5580通过使用两个外部串联
电阻,将差分输入的10 dB增益选择改为较低的增益值。工艺上采用了SiGe,并使用4 mm x 4 mm 20
端子网格阵列封装封装。
可变增益放大器
可变增益放大器是动态范围更大的宽带宽、宽增益范围放大器,线性度和噪声性能上比普通射频放大器更出色,在高速信号链和数据采集系统上应用尤为广泛。

(LMH2832,TI)
以TI的LMH2832为例,作为一款高线性度双通道数字可变增益放大器,高带宽、低失真和低噪声的特性非常适合用作双路14位
模数转换器的
驱动器。在LMH2832上,包含一个固定增益模块和一个可变衰减器,总增益为 30dB,最大衰减为 39dB。增益范围为-9dB到30dB,增益步长为1dB,增益精度为±0.2dB。输入阻抗可分别使用1:3Ω或1:2Ω比率平衡-非平衡
转换器来轻松匹配50Ω或75Ω系统。
与典型的放大器一样,射频放大器可以根据具体应用放大宽带宽或窄带宽的信号,宽带射频放大器得益于良好的增益平坦度性能,尤其是在测试高速信号链和宽带通信协议时表现尤其突出。
上述的LMH2832是数字控制射频放大器,这里再选取
模拟控制射频放大器做类比。

(ADRF6521,ADI)
ADRF6521,出自ADI,特点是双通道、全差分、低噪声和低失真。在增益范围内具有很高的无杂散动态范围,非常适合具有密集星座图、多个载波并存在邻近干扰的通信系统。
这款模拟控制射频放大器具21 dB增益范围,典型电压增益为18 dB。差分输入阻抗为100 Ω,差分输出阻抗为16 Ω。±1 dB增益平坦度带宽为2.5 GHz。输出缓冲器能够在低频至1 GHz范围内针对二阶和三阶交调失真以及二次和三次谐波失真将1.5 V p-p摆动至100 Ω负载(>55 dBc)。
ADRF6521采用+5 V单电源或各种双电源灵活供电,完全禁用时,功耗极低,仅为25 mA。工艺上采用先进的硅-锗BiCMOS。从以上其性能参数不难看出,在点到点及点到多点无线电应用领域,或是基带IQ
接收器,以及分集接收器上,该射频放大器都有相当的优势。
小结
当今更高的数据传输速率推动了对更高无线电信噪比的需求,这也意味着对射频放大器而言更高线性度射频组件需求。不仅在材料上各厂商开始寻找新替代品,在线性化技术上也通过增加采样频率和增大量化阶数的办法来抵消高阶互调失真,也正因为如此,射频领域虽然备受关注,由于技术水平较高,目前仍处于专利壁垒过大的竞争局面。