时间:2018-04-03 13:41
人气:
作者:admin
描述
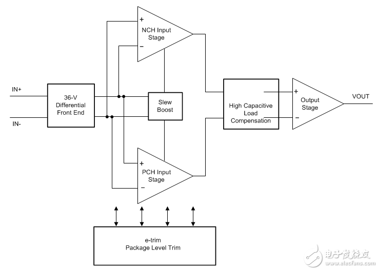
opax1979 - q1家族(opa197q1 - q1和opa2197q1 - q1)是新一代36-V型e-trim运算放大器的一部分。操作放大器的opax1970 - q1系列采用e-trim,一种用于在塑料成型过程后的最后工序中执行的补偿和偏置温度漂移的包层的方法。该方法最大限度地减小了固有输入晶体管不匹配的影响,以及封装成型过程中产生的误差。
这些设备提供杰出的直流精度和交流性能,包括轨到轨输入/输出、低偏置(±5µV,典型),低抵消漂移(±0.2µV /°C,典型的),和10 mhz带宽。
独特的特性,比如微分输入电压范围供应铁路、高输出电流(±65 mA),高电容负载驱动的1 nF和高转换速率(20 V /µs)使OPAx197-Q1健壮、高压工业应用的高性能运算放大器。
放大器可以在标准的OPAx197-Q1家庭包和指定从40°C + 125°C。
特性
合格的汽车应用程序
AEC-Q100符合以下结果:
设备温度1级:-40°C + 125°C的环境工作温度
设备HBM ESD分类等级3A。
设备CDM ESD分级c4a。
低偏移电压:250±µv(最大)
低偏移电压漂移:±0.2µV /°C
低噪音:5.5 nV /√赫兹在1 kHz
高共模抑制:140 db。
低偏置电流:±5 pA
轨到轨输入和输出
宽带宽:10mhz GBW。
高转换速率:20 v /µs
低静止电流:1 mA /放大器。
宽:2.25±2.25 V±18 V,V 36 V
EMI / RFI过滤输入
差动输入-电压范围到供电轨。
高电容负载驱动能力:1 nF。
行业标准包:
单通道在非常小的8脚的VSSOP。
双通道在8脚VSSOP。

龙腾半导体SGT MOSFET LSGT085R018在智慧农业无