全球最实用的IT互联网站!
人工智能P2P分享搜索全网发布信息网站地图标签大全
晶体管加偏置的理由
阅读全文2024-02-05
晶体管的偏置定义和方式
高频放大器和低频放大器有何不同
π型滤波电路的优缺点 π型滤波电路原理图详解
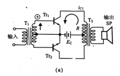
低频放大器电路设计图
浅谈功率放大的原理
丙类放大器的三种工作状态
浅谈乙类放大器的工作点
甲类放大器工作点和优势
放大器变成振荡器的原因
数字电压表设计教程之LTC2308数据手册解读
慧能泰负载开关HUSB305A产品介绍
德州仪器新型单级转换器助力微型逆变器
IGBT短路失效分析
CPU | 内存 | 硬盘 | 显卡 | 显示器 | 主板 | 电源 | 键鼠 | 网站地图
Copyright © 2025-2035 诺佳网 版权所有 备案号:赣ICP备2025066733号 本站资料均来源互联网收集整理,作品版权归作者所有,如果侵犯了您的版权,请跟我们联系。