全球最实用的IT互联网站!
人工智能P2P分享搜索全网发布信息网站地图标签大全
首款氮化镓充电桩发布 氮化镓充电更快吗?
阅读全文2023-08-30
电压跟随器运放型号有哪些 电压跟随器需要接电
整流桥输入直流会有什么影响吗 整流桥输入和输
三星显示器的新型QD-OLED结构和工艺
如何将电解电容器替换为MLCC呢?
一种基于ARM的航标终端设计方案
无源低通RC滤波器设计
DL4001~DL4007 整流二极管 杭州东沃
滤波器和容抗简介
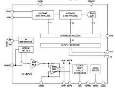
起重机状态分析系统设计可使用ADC SC1226,替换
数字电压表设计教程之LTC2308数据手册解读
慧能泰负载开关HUSB305A产品介绍
德州仪器新型单级转换器助力微型逆变器
IGBT短路失效分析
CPU | 内存 | 硬盘 | 显卡 | 显示器 | 主板 | 电源 | 键鼠 | 网站地图
Copyright © 2025-2035 诺佳网 版权所有 备案号:赣ICP备2025066733号 本站资料均来源互联网收集整理,作品版权归作者所有,如果侵犯了您的版权,请跟我们联系。