时间:2023-05-18 11:01
人气:
作者:admin
前段时间,在做项目重构的时候,遇到很多地方需要做很多的条件判断。当然可以用很多的if-else判断去解决,但是当时也不清楚怎么回事,就想玩点别的。于是乎,就去调研了规则引擎。
当然,市面上有很多成熟的规则引擎,功能很多,性能很好。但是,就是想玩点不一样的(大家做技术选型别这样,这个是反面教材)。最终一款URule的规则引擎吸引了我,主要还是采用浏览器可直接配置,不需要过多安装,可视化规则也做的不错。经过一系列调研,后面就把它接入了项目中,顺便记录下调研的结果。
规则引擎其实是一种组件,它可以嵌入到程序当中。将程序复杂的判断规则从业务代码中剥离出来,使得程序只需要关心自己的业务,而不需要去进行复杂的逻辑判断;简单的理解是规则接受一组输入的数据,通过预定好的规则配置,再输出一组结果。
当然,市面上有很多成熟的规则引擎,如:Drools、Aviator、EasyRules等等。但是URule,它可以运行在Windows、Linux、Unix等各种类型的操作系统之上,采用纯浏览器的编辑模式,不需要安装工具,直接在浏览器上编辑规则和测试规则。
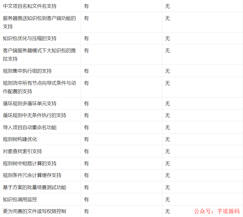
当然这款规则引擎有开源和pro版本的区别,至于pro版是啥,懂的都懂,下面放个表格,了解下具体的区别



基于 Spring Boot + MyBatis Plus + Vue & Element 实现的后台管理系统 + 用户小程序,支持 RBAC 动态权限、多租户、数据权限、工作流、三方登录、支付、短信、商城等功能
- 项目地址:https://github.com/YunaiV/ruoyi-vue-pro
- 视频教程:https://doc.iocoder.cn/video/
实际使用时,有四种使用URule Pro的方式,分别是嵌入式模式、本地模式、分布式计算模式以及独立服务模式。
但是我们这里不考虑URule Pro,咱自己整个开源版,在开源版集成springboot的基础上做一个二次开发,搜了一圈,其实就有解决方案。大致的项目模块如下:

自己创建个空数据库,只需要在edas-rule-server服务中修改下数据库的配置,然后启动服务即可。第一次启动完成,数据库中会创建表。
spring.datasource.type=com.alibaba.druid.pool.DruidDataSource
spring.datasource.driver-class-name=com.mysql.jdbc.Driver
spring.datasource.url=jdbc//localhost:3306/urule-data?serverTimezone=Asia/Shanghai&useUnicode=true&characterEncoding=utf-8&allowMultiQueries=true&useSSL=false
spring.datasource.username=root
spring.datasource.password=mysql
上面说过,它是纯用浏览器进行编辑,配置规则的,只需要打开浏览器,输入地址:http://localhost:8090/urule/frame,看到这个界面,就说明启动成功了。

基于 Spring Cloud Alibaba + Gateway + Nacos + RocketMQ + Vue & Element 实现的后台管理系统 + 用户小程序,支持 RBAC 动态权限、多租户、数据权限、工作流、三方登录、支付、短信、商城等功能
- 项目地址:https://github.com/YunaiV/yudao-cloud
- 视频教程:https://doc.iocoder.cn/video/
先说下URule它的构成部分,主要是两部分:1、设计器部分 2、规则执行引擎。设计器部分主要是库文件和规则文件构成。下面看下整体的结构图

如上图介绍的,库文件有4种,包括变量库,参数库,常量库和动作库。其实类似于Java开发的系统中的实体对象,枚举,常量以及方法。
上面说过,规则都是可视化配置的。在配置规则的过程中,就需要引入各种已经定义好的库文件,再结合业务需求,从而配置出符合业务场景的业务规则,所以哪里都有库文件的身影。
在业务开发中,我们会创建很多Getter和Setter的Java类,比如PO、VO、BO、DTO、POJO等等,其实这些类new对象后主要起到的作用就是数据的载体,用来传输数据。
在URule中,变量库就是用来映射这些对象,然后可以在规则中使用,最终完成业务和规则的互动。最后上一张图,用来创建变量库

对了,上面废话了这么多可视化配置,这才是第一次展示配置界面,惭愧惭愧。
上图一目了然,在“库”这个菜单底下右键,然后点击添加变量库即可,最后定义自己喜欢的变量库名,当然名字只支持中文或者英文,其他字符不可用。
创建完变量库后,就可以对变量库进行编辑,可以认为就是给POJO添加属性
也不弯弯绕绕讲什么术语,就个人理解。图左边是创建类,其中名称是它的别名,配置规则用它代替这个类。图右边是类的属性,我这里随便写了几个,估计看了懂得都懂。
最后在业务系统中创建对应的类,注意全限定名和配置变量库的类路径一致。
packagecom.cicada;
importcom.bstek.urule.model.Label;
importlombok.Data;
/**
*@author芋道源码
*@version1.0
*@date2023/3/315:38
*@description
*/
@Data
publicclassStu{
@Label("姓名")
privateStringname;
@Label("年龄")
privateintage;
@Label("班级")
privateStringclasses;
}
最后说下这个@Label注解,这个是由URule提供的注解,主要是描述字段的属性,跟变量库的标题一栏一致就行。听官方介绍可以通过这个注解,实现POJO属性和变量库属性映射。就是POJO写好,然后对应规则的变量库就不需要重新写,可以直接生成。反正就有这个功能,这里就直接一笔带过了。
说到常量库,这个就可以认为是我们Java系统中的常量,枚举。比如性别,要定义枚举吧;比如对接的机构,也可以定义一个枚举吧。
当然,类似于变量库,常量库也可以实现和系统中的枚举相互映射,这样做的好处可以避免我们手动输入,防止输入错误。创建常量库也比较简单,直接在“库”这个菜单下右键,“添加常量库”。
创建好常量库文件后,也会出现如下页面:

参数库,就是URule规则中的临时变量,变量的类型和数量不固定。可以认为类似于Map,实际上存储参数库的也就是个Map。
同样的套路,直接在“库”这个菜单下右键,“添加参数库”。
可以看到,参数库已经少了左边分类这一项,直接添加参数,选择类型就是干,相对简单了很多。“名称”这列我这里用了英文,就是Map中的key,而“标题”这列就是在配置规则时候显示用的,中文看着比较直观。
当然还需要注意的点是,定义的名称要保证唯一,因为Map中的key是唯一的,不然就会存在覆盖的情况。
动作库可以对配置在spring中的bean方法进行映射,然后可以在规则中直接调用这批方法。惯用套路,还是在“库”菜单下右键,点击“添加动作库”。
然后我在系统中添加了一个类Action,然后在类上标记@Component注解,将该类交给spring的bean容器管理。该类中添加一些方法,在方法上标记@ExposeAction注解,该注解是URule定义的,说明被标记的方法都会被动作库读取到。
packagecom.bstek.urule.cicada;
importcom.bstek.urule.action.ActionId;
importcom.bstek.urule.model.ExposeAction;
importorg.springframework.stereotype.Component;
importjava.text.SimpleDateFormat;
importjava.util.Date;
/**
*@author芋道源码
*@version1.0
*@date2023/3/1013:59
*@description
*/
@Component("action")
publicclassAction{
@ActionId("Hello")
publicStringhello(){
return"hello";
}
@ExposeAction(value="方法1")
publicbooleanevalTest(Stringusername){
if(username==null){
returnfalse;
}elseif(username.equals("张三")){
returntrue;
}
returnfalse;
}
@ExposeAction(value="测试Int")
publicinttestInt(inta,intb){
returna+b;
}
@ExposeAction(value="打印内容")
publicvoidprintContent(Stringusername,Datebirthday){
SimpleDateFormatsd=newSimpleDateFormat("yyyy-MM-ddHHss");
if(birthday!=null){
System.out.println(username+"今年已经"+sd.format(birthday)+"岁了!");
}else{
System.out.println("Hello"+username+"");
}
}
@ExposeAction(value="打印Stu")
publicvoidprintUser(Stum){
System.out.println("Hello"+m.getName()+",isage:"+m.getAge());
}
}
最后在动作库页面上添加bean,“Bean Id”一列输入对应的spring bean的名称,这里输入action。然后点击操作列中的小手按钮,就会弹出刚在Action类中标记了ExposeAction注解的方法。选择一个指定的方法添加进来,最后看到方法对应的参数也会被自动加载进去。


最后,变量库、参数库、动作库、常量库这些库文件定义好后,各种规则文件配置的时候就可以导入他们。但是一旦这些库文件被某个规则文件使用,就不要随意修改库文件了。
说到规则集,顾名思义,就是配置规则了。前面定义的库文件就需要导入到规则集中去配置使用。它是使用频率最高的一个业务规则实现方式。
规则集说的是规则的集合,由三个部分规则组成:如果、那么、否则。
在规则集的定义的方式上,URule由向导式和脚本式两种;
还是一样,首先新建。这次是在“决策集”菜单上右键,点击“添加向导式决策集”,这样就创建好一个规则集了。
在配置规则前,可以先导入前面定义好的库文件。我这里导入变量库文件,页面上点击“变量库”,然后选择指定的变量库文件即可。如图所示;
最后,可以愉快的配置规则了,向导式没什么好讲的,都是可视化界面,点点点即可。下面是我配置的一个简单的规则集;
可以看到由三部分组成:如果、那么、否则;
最后,附上添加完规则后,通过代码去执行规则;
packagecom.cicada;
importcn.hutool.core.bean.BeanUtil;
importcom.Result;
importcom.bstek.urule.Utils;
importcom.bstek.urule.runtime.KnowledgePackage;
importcom.bstek.urule.runtime.KnowledgeSession;
importcom.bstek.urule.runtime.KnowledgeSessionFactory;
importcom.bstek.urule.runtime.service.KnowledgeService;
importcom.cicada.req.StuReq;
importorg.springframework.web.bind.annotation.PostMapping;
importorg.springframework.web.bind.annotation.RequestBody;
importorg.springframework.web.bind.annotation.RequestMapping;
importorg.springframework.web.bind.annotation.RestController;
importjava.io.IOException;
/**
*@author芋道源码
*@version1.0
*@date2023/3/1016:47
*@description
*/
@RestController
@RequestMapping("/rule")
publicclassRuleDataController{
@PostMapping("/stu")
publicResultrule(@RequestBodyStuReqstuReq)throwsIOException{
KnowledgeServiceknowledgeService=(KnowledgeService)Utils.getApplicationContext().getBean(KnowledgeService.BEAN_ID);
KnowledgePackageknowledgePackage=knowledgeService.getKnowledge("xxx/xxx");
KnowledgeSessionknowledgeSession=KnowledgeSessionFactory.newKnowledgeSession(knowledgePackage);
Stustu=BeanUtil.copyProperties(stuReq,Stu.class);
knowledgeSession.insert(stu);
knowledgeSession.fireRules();
returnResult.success(stu.getTeacher());
}
}

请求接口,最终参数符合配置的条件,返回“那么”中配置的输出结果。
脚本式的规则集,各种原理都是和向导式一模一样,无非就是拉高门槛,用写脚本的方式去实现配置的规则。这里不做过多的介绍了。
再聊下决策表,其实它就是规则集的另一种展示形式,比较相对规则集,我更喜欢用决策表去配置规则,应为它呈现的更加直观,更便于理解。但是本质和规则集没啥区别。
也不展开过多的赘述,这里我就放一张配置过的决策表;

当然,还有其他的概念和功能,这里也不一一介绍了,因为上面说的已经是最常用的了,想了解的可以自行去了解。其他功能包括:交叉决策表、评分卡、复杂评分卡、决策树、规则流;当然,其中有些是Pro版的功能。
最近在开发一期大版本的需求,其中就有个场景,具体如下;参与购买订单的用户都会有自己的一个职级,也可以说是角色。每个用户都会有三个职位:普通用户、会员、精英会员。
然后,每个月初都会对用户进行一次晋升处理,普通用户达到要求,就会晋升为会员,会员达到要求就会晋升为精英会员。
当然,普通用户晋升会员,会员晋升精英会员,都会有不同的规则;
当然,这只是做过简化的一部分需求,我做过稍许的改动,真实的需求场景并没有这么简单。
下面,我对这个需求做一个规则的配置,这里用一个决策表进行配置;在配置规则前,我添加一个变量库文件和常量库;


最后,添加一个决策表,并进行规则配置;

可以看到,表格一共五列,其中前四列是规则,最后一列是满足规则后输出的信息。这样看着就很清晰,即使并不是技术人员,也可以轻松看懂其中的规则。
规则引擎对于我们的系统而言可用可不用,它可以锦上添花,帮助我们剥离出业务中需要进行大量判断的场景。但是,这种规则的剥离,需要我们开发人员对需求进行理解,在理解的基础上进行抽象概念的具化。这,也是整个编程的必经之路 。
审核编辑 :李倩