时间:2022-12-07 11:52
人气:
作者:admin
1.OLED简介
OLED,即有机发光二极管( Organic Light Emitting Diode)。 OLED 由于同时具备自发光,不需背光源、对比度高、厚度薄、视角广、反应速度快、可用于挠曲性面板、使用温度范围广、 构造及制程较简单等优异之特性,被认为是下一代的平面显示器新兴应用技术。
OLED显示技术与传统的LCD显示方式不同,无需背光灯,采用非常薄的有机材料涂层和玻璃基板(或柔性有机基板),当有电流通过时,这些有机材料就会发光。而且OLED显示屏幕可以做得更轻更薄,可视角度更大,并且能够显著的节省耗电量。
OLED也被称之为第三代显示技术。OLED不仅更轻薄、能耗低、亮度高、发光率好、可以显示纯黑色,并且还可以做到弯曲,如当今的曲屏电视和手机等。当今国际各大厂商都争相恐后的加强了对OLED技术的研发投入,使得OLED技术在当今电视、电脑(显示器)、手机、平板等领域里应用愈加广泛。

本次选用OLED屏幕为0.96寸,驱动IC为SSD1306,驱动协议为SPI。分辨率为128*64;单色屏幕。采用页面寻址方式。
引脚说明
| 引脚 | 说明 |
| GND | 电源地 |
| VCC | 电源正( 3~5.5V) |
| D0 | OLED 的 D0 脚,在 SPI 和 IIC 通信中为时钟管脚 |
| D1 | OLED 的 D1 脚,在 SPI 和 IIC 通信中为数据管脚 |
| RES | OLED 的 RES#脚,用来复位(低电平复位) |
| DC | OLED 的 D/C#E 脚, 数据和命令控制管脚 |
| CS | OLED 的 CS#脚,也就是片选管脚 |
2.OLED驱动
本示例采用硬件SPI来实现OLED屏幕驱动。
2.1 SPI简介
SPI是串行外设接口(Serial Peripheral Interface)的缩写,是一种高速的,全双工,同步的通信总线,并且在芯片的管脚上只占用四根线,节约了芯片的管脚,同时为PCB的布局上节省空间,提供方便,正是出于这种简单易用的特性,越来越多的芯片集成了这种通信协议。
SPI:高速同步串行口。是一种标准的四线同步双向串行总线,是串行外围设备接口。是Motorola首先在其MC68HCXX系列处理器上定义的。SPI接口主要应用在 EEPROM,FLASH,实时时钟,AD转换器,还有数字信号处理器和数字信号解码器之间。
该接口一般使用4条线:串行时钟线(SCLK)、主机输入/从机输出数据线MISO、主机输出/从机输入数据线MOSI和低电平有效的从机选择线SS(有的SPI接口芯片带有中断信号线INT、有的SPI接口芯片没有主机输出/从机输入数据线MOSI)。
SPI根据时钟极性(CPOL)和时钟相位(CPHA)的不同,能够产生4时钟时序。时钟极性(CPOL)控制时钟线空闲电平状态,时钟相位(CPHA)用来控制数据采样极性。
2.2 N32G45硬件SPI
硬件SPI 可以工作在主模式或从模式,支持全双工和单工高速通讯模式,并且具有硬件 CRC 计算能力且可配置多主模式。
I2S 可以工作在单工的主模式或从模式,支持 4 种音频标准:飞利浦 I2S 标准、 MSB 对齐标准、 LSB 对齐标准和 PCM 标准。这两种都是同步串行接口通讯协议。
SPI 主要特性
全双工和单工同步模式
支持主模式、从模式和多主模式
支持 8bit 或 16bit 数据帧格式
数据位顺序可编程
硬件或软件片选管理
时钟极性和时钟相位可配置
发送和接收支持硬件 CRC 计算及校验
支持 DMA 传输功能

为了连接外部设备, SPI 接口有 4 个引脚与外设器件连接,具体如下:
SCLK:串行时钟引脚,该信号从主设备 SCLK 引脚输出,由从设备 SCLK 引脚输入
MISO:主输入/从输出引脚,数据从主设备的 MISO 引脚输入,由从设备的 MISO 引脚输出
MOSI:主输出/从输入引脚,数据从主设备的 MOSI 引脚输出,由从设备的 MOSI 引脚输入
NSS:片选引脚,有两种 NSS 引脚类型,外部引脚和内部引脚。如果内部引脚检测到高电平, SPI 工作在主模式,相反, SPI 工作在从模式。用户可以使用主设备的一个标准 I/O 引脚控制从设备的 NSS 引脚
SPI 是一个环形总线结构。主设备通过 SCK 管脚输出同步时钟信号,主设备的 MOSI 引脚连接到从设备的MOSI 引脚,并且主设备的 MISO 引脚连接到从设备的 MISO 引脚,以便数据可以在设备之间传输。主设备和从设备之间的连续数据传输,通过 MOSI 引脚发送数据到从设备,而从设备通过 MISO 引脚发送数据到主设备。
SPI 时序模式
通过设置 SPI_CTRL1.CLKPOL 位和 SPI_CTRL1.CLKPHA 位,用户可以选择数据捕获的时钟沿。
当 CLKPOL = 0, CLKPHA = 0,空闲时 SCLK 引脚将保持低电平,数据将在第一个时钟沿被采样,即上升沿。
当 CLKPOL = 0, CLKPHA = 1,空闲时 SCLK 引脚将保持低电平,数据将在第二个时钟沿被采样,即下降沿。
当 CLKPOL = 1, CLKPHA = 0,空闲时 SCLK 引脚将保持高电平,数据将在第一个时钟沿被采样,即下降沿。
当 CLKPOL = 1, CLKPHA = 1,空闲时 SCLK 引脚将保持高电平,数据将在第二个时钟沿被采样,即上升沿。
不管选择哪种时序模式,主设备和从设备的时序模式配置必须相同。
SPI时序图

2.3 硬件SPI相关寄存器及配置
以全双工为例,SPI的配置流程如下:
设置SPI_CTRL1.SPIEN位为1,使能SPI模块;
写待发送的第一个数据到SPI_DAT(这个写操作会清除SPI_STS.TE标志位);
等待SPI_STS.TE标志位置1后,再写入第二个待发送的数据到SPI_DAT寄存器,等待SPI_STS.RNE标志位置1后,读取SPI_DAT寄存器获得第一个接收的数据,读取SPI_DAT寄存器, SPI_STS.RNE标志位会清0。重复上述操作,发送后续的数据,同时接收第n-1个数据;
等待SPI_STS.RNE置1后,读取最后一个数据;
等待SPI_STS.TE标志位置1,等待SPI_STS.BUSY标志位清除后再关闭SPI模块。
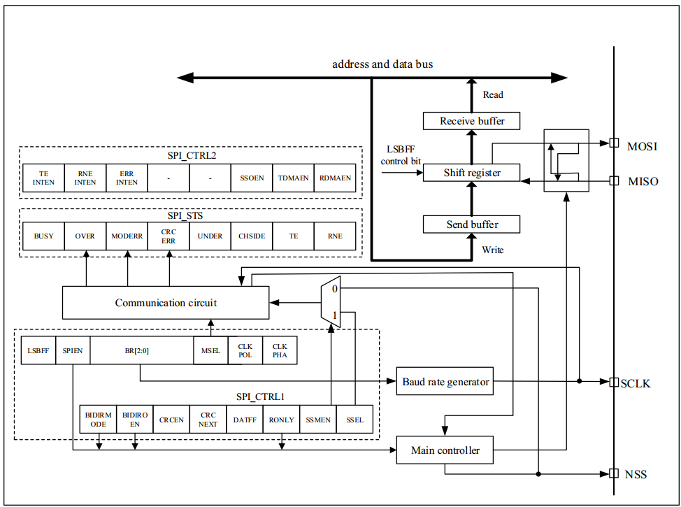
SPI_CTRL1寄存器
CTRL1用于配置SPI工作模式,工作频率,时钟极性,使能SPI等参数。

SPI_STS寄存器
STS状态寄存器用于判断数据收发完成状态,中断标志,忙标志等。

SPI_DAT寄存器
DAT数据寄存器保存发送和接收的数据。

2.4 硬件SPI引脚定义
本开发板有3个硬件SPI(SPI1、SPI2、SPI3),还有一个QSPI,QSPI支持标准SPI模式,QSPI 是用于单/双/四线 SPI 外设通信的接口。可以在间接和内存映射 2 种模式下工作。

以SPI1为例,通过SPI1驱动OLED屏幕。SPI1是挂载在APB2上,根据SPI_CTRL1寄存器介绍可知,SPI1的最高通讯速度为72MHZ/2=36MHZ。
SPI1硬件接口

根据开发板硬件原理图,PA5、PA6已接入按键,PB4、PB5已接入LED设备,所以为了保证不受干扰,可以开启SPI1完全重映像,使用PB2、PE7、PE8、PE9作为SPI1的硬件接口。
SPI1重定向寄存器
SPI1硬件重定向是通过SPI1_RMP_0和SPI1_RMP_1两位组合配置。SPI1_RMP_0是在SPI1_CTRL1的第0位;SPI1_RMP_1是在SPI1_CTRL3的第18位。


配置代码如下:
/*********************************OLED引脚初始化*************************
**D0 --- PE7 时钟线,SCLK
**D1 ---PE9 数据线,MOSI
**RES ---PB12复位脚,低电平复位,高电平取消复位
**DC ---PB1 数据命令选择线
**CS ---PB2 片选线,低电平选中,高电平取消选中
**
**注意:使用硬件SPI1 --最高速度为36MHZ,使用SPI1的完全重映像
**作者:IT_阿水
*************************************************************************/
static void OLED_GPIO_Init(void)
{
//开时钟
RCC->APB2PCLKEN|=1<<3;//PB
RCC->APB2PCLKEN|=1<<6;//PE
RCC->APB2PCLKEN|=1<<0;//AFIO
AFIO->RMP_CFG|=1<<0;//SPI1引脚完全重定向
AFIO->RMP_CFG3|=1<<18;//SPI1完全重映像
//配置GPIO口
GPIOE->PL_CFG&=0x0fffffff;
GPIOE->PL_CFG|=0xB0000000;
GPIOE->PH_CFG&=0xffffff0f;
GPIOE->PH_CFG|=0x000000B0;
GPIOB->PH_CFG&=0xfff0ffff;
GPIOB->PH_CFG|=0x00030000;
GPIOB->PL_CFG&=0xfffff00f;
GPIOB->PL_CFG|=0x00000330;
//SPI1模式配置
RCC->APB2PCLKEN|=1<<12;//SPI1
RCC->APB2PRST|=1<<12;//SPI1
RCC->APB2PRST&=~(1<<12);//SPI1
SPI1->CTRL1|=1<<9;//软件从设备管理
SPI1->CTRL1|=1<<2;//主模式
SPI1->CTRL2|=1<<2;//SPI1存在bug,需要开启该位才能使用
SPI1->CTRL1|=1<<6;//使能SPI
OLED_CS=1;//片选拉低
OLED_RES=1;
}
注意:根据N32的硬件勘误指南介绍,SPI1硬件工作在主模式时会存在bug。存在问题如下:

虽然本次示例是通过SPI1完全重映像功能,时钟线由PA4重映像到PB2,但实测若不将SSOEN置位会导致发送数据失败。
底层发送一个字节函数
由于OLED屏幕采用的是3显示SPI接口,没有主机输入脚,因此只需要实现发送数据即可。
/*************SPI发送一个字节********/
static inline void SPI_ReadWriteByte(u8 data_tx)
{
SPI1->DAT=data_tx;
while(!(SPI1->STS&1<<1)){}//等待数据发送完成
}
2.5 OLED相关接口函数
画点函数实现
要实现OLED图片、字符串、汉字等功能,最核心的函数即画点函数。但由于本OLED屏幕是通过页面寻址方式初始化,因此我们需要建立缓存,方便画点函数实现。
/*******************画点函数**********************
**
**形参:u8 x --横坐标0~127
** u8 y --纵坐标0~63
** u8 c --0表示不显示,1表示显示
**OLED_DrawPoint(50,20,u8 c)
**************************************************/
static u8 oled_gram[8][128];//屏幕缓冲区
void OLED_DrawPoint(u8 x,u8 y,u8 c)
{
u8 page=y/8;//y坐标值在第几页
u8 line=y%8;//在当前页的第几行上
if(c)oled_gram[page][x]|=1<;>
汉字显示实现
本OLED本身不带有字库,所以要实现汉字显示则需要取模,可通过PctoL2002完成汉字取模。当然也可以制作汉字字库,烧写到flash中然后直接调用字库显示。
/***********************汉字显示*********************
**形参:u8 x,u8 y -- 要显示的位置x:0~127,y:0~63
** u8 size -- 字体大小
** u8 number --第几个字
***************************************************/
void OLED_DisplayFont(u8 x,u8 y,u8 size,u8 number)
{
u16 i=0,j=0;
u8 data;
u8 x0=x;
for(i=0;i*size>
字符串显示
字符串通过PctoL2002完成常用字符取模,有16点阵和24点阵两种。
/*字符串显示函数
u8 x,u8 y -- 要显示的位置x:0~127,y:0~63
u8 w,u8 h -- 字符宽度和高度
char *str -- 要显示的字符串
返回值:返回显示的字符个数
**/
u8 OLED_DisplayStr(u8 x,u8 y,u8 w,u8 h,char *str)
{
u8 x0=x;
u8 cnt=0;
while(*str!='')
{
if(x0>=127)return cnt;
if(y>=63)return cnt;
OLED_DisplayCha(x0,y,w,h,(u8 )*str++);
x0+=w;
cnt++;
if(x0>=127)//换页
{
x0=0;
y+=h;
}
}
return cnt;
}
清屏函数
本函数主要实现屏幕清空,可实现从上往下、从左往右、回字形三种模式清屏。
/*更新显示*/
void OLED_Refresh2(u8 format)
{
int i=0;
int j=0;
u8 flag=0;
u8 x=127,y=63;
int line=0,row=0;
u8 cnt=0;
switch(format)
{
case 1://从上往下
for(i=63;i>=0;i--)
{
for(j=0;j<128;j++)
{
OLED_DrawPoint(j,i,0);
}
OLED_Refresh();
Delay_Ms(100);
}
break;
case 2://从左往右
for(i=0;i<128;i++)
{
for(j=0;j<64;j++)
{
OLED_DrawPoint(i,j,0);
}
OLED_Refresh();
Delay_Ms(20);
}
for(i=127;i>=0;i--)
{
for(j=0;j<64;j++)
{
OLED_DrawPoint(i,j,1);
}
OLED_Refresh();
Delay_Ms(20);
}
break;
case 3://回字形
i=0;
j=0;
flag=0;
x=127,y=63;
line=-1,row=-1;
cnt=0;
while(1)
{
if(flag==1)j++;
else if(flag==2)i--;
else if(flag==3)j--;
else i++;
if(i>=x && flag==0)
{
x--;
row++;
flag=1;
}
if(j>=y && flag==1)
{
flag=2;
line++;
y--;
}
if(i<=row && flag==2)
{
flag=3;
}
if(j<=line && flag==3)
{
cnt++;
flag=0;
}
OLED_DrawPoint(i,j,0);
if(cnt>=1)
{
cnt=0;
OLED_Refresh();
Delay_Ms(50);
}
if(row>x || line>(y+4))
{
break;
}
}
i=0;
j=0;
flag=0;
x=127,y=63;
line=0,row=0;
cnt=0;
while(1)
{
if(flag==1)j++;
else if(flag==2)i--;
else if(flag==3)j--;
else i++;
if(i>=x && flag==0)
{
x--;
row++;
flag=1;
}
if(j>=y && flag==1)
{
flag=2;
line++;
y--;
}
if(i<=row && flag==2)
{
flag=3;
}
if(j<=line && flag==3)
{
cnt++;
flag=0;
}
OLED_DrawPoint(i,j,1);
if(cnt>=1)
{
cnt=0;
OLED_Refresh();
Delay_Ms(50);
}
if(row>x || line>(y+4))
{
break;
}
}
break;
default:
OLED_ClearGram(0x0);//清空缓冲区
OLED_Refresh();
break;
}
}
2.6 整体效果


https://cp.elecfans.com/#/workmanage/video/list
审核编辑黄昊宇