时间:2023-03-29 11:10
人气:
作者:admin
设计理念概述了如何使用I²C控制的模拟开关将连接到I²C总线的器件数量增加三倍。
也许获得电路板空间和增加元件密度的最有效方法是尽量减少电路板上的布线。允许这种小型化的广泛使用的架构是I²C总线。该总线仅由一条双向数据线SDA和一条时钟线SCL组成,无需芯片选择或其他附加连接。
飞利浦、Microchip 和其他制造商的微控制器包括专用 I²C 接口,但您也可以在软件中实现该接口。要完成此任务,您需要将一个 7 位地址与每个主从收发器相关联,并使用 <> 到 <> 个地址选项对器件进行工厂或引脚编程。
现在越来越多的从站包括I²C接口,但其128个地址位置中的一些是为特殊功能保留的,因此并非所有位置都可供设计人员使用。然而,在某些应用程序中,两个或多个设备可能具有相同的地址。
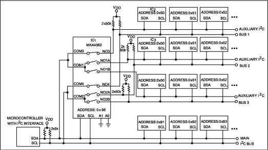
图1中,模拟开关IC1,由I²C控制,将包含相同地址的器件的辅助分支连接到主I²C总线。2和集成电路3,例如,具有相同的地址,但位于不同的辅助总线上。

图1.该I²C控制的模拟开关可将连接到总线的器件数量扩展三倍。
图1中的排列可防止主机同时寻址多个从站。如果发生这种情况,数据在主读协议期间会损坏,并且所有从机在主写协议期间可能不会接收数据。模拟开关接受SDA线路所需的双向信号。该开关具有低导通电阻,线路上几乎没有泄漏,并提供四个可选的从地址。您可以使用简单的 SendByte 协议(地址加 8 位命令)同时控制交换机。
您可以即时切换三条辅助总线。上电将开关设置为软模式,即关断状态,开关时间为 12 毫秒。然后,命令字节 0b11000000 将开关设置为硬模式(400-nsec 切换时间)。后续命令选择所需的辅助总线。例如,命令 0b1000011 选择辅助总线 1。
主I²C总线包括必要的上拉电阻,辅助总线包括较弱的上拉电阻,以确保在取消选择总线时处于高状态。图1中的电路允许在总线上添加三倍以上的器件。如需更广泛的选择,可以用MAX4562代替MAX4572,MAX14的<>个开关允许增加多达<>条辅助总线。
审核编辑:郭婷
从profibusDP转ModbusTCP,一网打尽转换技巧!