时间:2021-04-22 15:07
人气:
作者:admin
通过USB评估套件的UART串行接口是一个有用的开发工具。它带有评估板,固件应用代码和完整的文档。该套件使用户能够通过USB快速了解UART串行接口的实现以及UART至RS-232串行端口的接口。
下一段描述了方框图,硬件,软件和固件的描述。提供了C语言的固件应用程序代码,以显示如何通过USB编写UART串行接口的简单通信程序。目的是帮助用户缩短产品开发周期并评估飞利浦Dual UART功能。
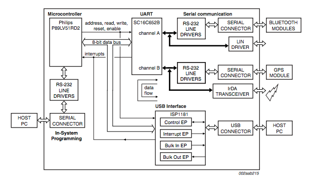
框图
图1所示的框图显示了通过USB的UART串行接口的总线接口。USB具有通用并行接口,用于与各种微控制器(例如8051微控制器)进行通信。8051微控制器通过8位数据总线向UART发送数据和从UART接收数据。然后,UART将并行数据转换为串行数据,并通过RS-232线路驱动器将串行数据传输到串行端口,其功能是转换逻辑电压电平。同样,UART通过RS-232线路接收器从串行端口接收串行数据,并将串行数据转换为8位数据。然后,UART将并行数据发送回微控制器,微控制器将数据发送到USB接口。主机PC要求数据后,

图1通过USB评估板的UART串行接口的框图
可以将任何无线模块(例如蓝牙和GPS)连接到UART串行接口,以通过USB在模块和主机PC之间以及在一个模块和另一个模块之间进行串行通信。有关Philips Dual UART与蓝牙模块之间的接口的详细信息,请参考应用笔记_AN10307_。另外,应用笔记_AN10219_展示了如何使用Philips UART来实现IrDA接口。
硬体说明
评估板包括下一部分所述的四个主要部分。该板通过USB桥接控制器充当UART串行接口。它提供了在模块与主机PC之间以及一个模块与另一个模块之间收发数据的功能。此外,它提供了系统内编程功能,可将固件应用程序代码下载到微控制器。上电复位后,桥控制器的操作将基于固件应用程序代码的编程。
四个主要部分的功能描述如下:
飞利浦P89LV51RD2是8051微控制器。微控制器通过8位数据总线和控制信号(地址,写入,读取,复位和芯片选择信号)连接到UART和USB控制器。微控制器充当主机,通过嵌入式固件应用程序代码控制板上的USB和UART设备。固件应用程序代码控制微控制器的工作,它们是:
飞利浦SC16CxxxB是具有32字节FIFO和IrDA编码器/解码器的双通道UART设备。它在微控制器和RS-232线路驱动器之间进行接口。UART设备主要包括两部分:发送器和接收器。发送器对从微控制器发送的8位数据执行并行到串行转换。接收器对从外围设备接收的串行数据执行串行到并行转换。
飞利浦RS-232驱动器/接收器是收发器。第一个允许微控制器通过PC的串行端口(例如COM1)进行系统内编程。第二个允许UART通过另一台PC的串行端口(例如COM2)与外围设备进行串行通信。RS-232主要包括两部分:驱动器(发送器)和接收器。驱动器将CMOS逻辑输出电平转换为RS-232信号,而接收器将RS-232信号转换为CMOS逻辑输出电平。
飞利浦ISP1181B是具有高速通用并行接口的全速USB接口设备,可与多种微控制器通信。在评估板上,ISP1181B表现为具有8位数据总线和1位芯片选择线的I / O设备。它具有用于直接向UART设备传输数据或命令或从UART设备直接传输数据或命令的端点。
编辑:hfy
从profibusDP转ModbusTCP,一网打尽转换技巧!