时间:2019-02-12 15:37
人气:
作者:admin
随着数码产品的飞速发展和迅速普及,数码产品的内部器件也面临了更高的要求,由于大多数便携式数码产品例如手机,数码相机,MP3, PMP以及数码相框都会需要显示模块,其中的WLED背光驱动电源的设计也就越来越受到关注。它的性能会直接影响到显示效果,显示模块的寿命及电池的待机时间。
近期,BCD新推出一款WLED驱动芯片-AP3029,此款芯片在WLED驱动电源设计和应用方面有着较大的优势,它在保证性能的前提下,提高了工作频率,进行了更高度的集成,减少了外围器件的数量及尺寸,降低了系统的成本。下面将对AP3029在 WLED驱动方面的应用方案及关键参数做一下介绍。
一、AP3029简介
AP3029 是将开关管与肖特基二极管集成在内的PWM(脉冲宽度调制)模式的升压型变换器。它仅通过几颗外部器件-升压电感,输入,输出电容,反馈电阻来完成对负载 WLED的驱动,且AP3029有着较高的频率(1.2MHZ),这样,还可以减小外部电感的尺寸,更加节省了系统的空间。
AP3029有着较其它同类产品更宽的输入电压范围,可从2.5V到16V,大部分同类产品的输入电压最高只有6V,这样可以使系统的使用范围更广泛。
AP3029正常工作时采用输出恒定电流控制模式,它的输出电流是通过内部的基准电压和外部的反馈电阻来控制。AP3029内部的基准电压较低,只有200mV,这在一定程度上降低了驱动损耗,提高了工作效率。
AP3029的输出电压是由负载WLED的串联个数来决定的,如果输出WLED出现断路情况,AP3029会将输出电压自动拑位在27V,实现过电压保护。
AP3029 内部有软启动功能,在系统启动时,输出电压变得很平滑,且输入冲击电流也得到了限制。
通过完善而可靠的保护功能,可以大幅度的提高系统的安全性和实用性。
二、AP3029的典型应用方案
1. AP3029驱动串联WLED应用方案:
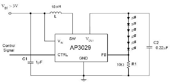
通常,小尺寸的显示屏幕上需要2~6颗 WLED做背光,普通WLED一般工作在3.2V/20mA, 图1即为基于AP3029设计的6颗串联WLED驱动电路。根据屏幕尺寸不同可以调整WLED的数目。

图1. AP3029驱动串联6颗WLED的典型应用图
AP3029 通过反馈电阻R1对WLED进行恒定电流驱动,ILED=VFB/R1。输出电压即为六颗WLED的正向电压,6*3.2+0.2=19.4V。输出功率为388mW。
该典型应用方案的Spec如表1所示:

表1. WLED串联输出的Spec
2. AP3029驱动并联WLED应用方案:
随着便携式数码产品显示屏幕尺寸的增大,显示模块所需要WLED的数量也随之增加,这样就对WLED驱动芯片的性能及驱动能力提出了更高的要求。
AP3029 驱动能力强的特点在大尺寸显示屏的背光驱动设计中得到了充分的发挥,由于大部分便携式数码产品都由锂电池供电,单节锂电池的输出电压范围通常为 3.2V~4.2V,所以,驱动6颗以上的WLED通常采取并联驱动方式,将输出电压控制在合理的范围内。保证系统有更好的工作状态。图2即为 AP3029并联驱动WLED典型应用方案。

图2. AP3029 驱动并联10颗WLED的典型应用图
该应用方案的Spec,如表2所示。

表2. WLED 并联输出的Spec
表3即AP3029在85OC下驱动10颗WLED时,输出电流与反馈电压VFB的关系。如果AP3029驱动能力足够,VFB将会随着输出电流的增大基本保持不变。

表3. 85OC 时AP3029驱动10颗WLED的输出电流与反馈电压的关系
在该典型应用下,正常输出电流为40mA,从表3的数据可以看出AP3029在85OC下驱动10颗WLED还会有一定的裕量。所以,AP3029 完全可以满足驱动10颗WLED的要求。
在并联方案中,最值得注意的就是两排WLED的电流匹配问题。假如直接将两串WLED并联,该拓扑决定了两串WLED的正向电压之和。由图3可知,WLED 的正向压降VF存在一定的差异,且其工作点附近(IF=20mA)的动态阻抗很小。因此两串WLED的正向电流会存在较大的差异。使输出电流不能匹配。该情况会导致两排WLED的亮度有明显差异,严重的影响了显示效果。

图3,二极管正向电压正向电流的关系
为了解决上述问题,可以在输出端使用PNP对管来实现输出电流的匹配。连接方式见图3。在这里,要推荐使用集成PNP对管,且放大系数β〉〉2,这样可以保证两个PNP管的特征参数基本一致,减小误差,达到更好的均流效果。
表4给出了在不同的输入电压下,两排WLED(每排五个WLED)在加入均流设计前后的电流分配情况。

表4,输出电流的均流精度
在表4中可以看出输出电流经过均流设计后,电流分配情况有了本质的提高。完全满足WLED背光驱动中的电流匹配要求。
三、总结
以上所介绍的AP3029两种驱动方式,已经过验证,结果可行,并满足客户的多种要求,被客户接受和采用。
综上所述,AP3029 作为便携式数码产品的背光电源有着广大的市场,能够完全满足大部分客户的不同要求。是一种性能价格比很高的设计方案。
上一篇:浅谈AVALON总线的应用及要求
从profibusDP转ModbusTCP,一网打尽转换技巧!