时间:2022-09-07 14:14
人气:
作者:admin
近年来,随着我国制造产业的不断推进,为伺服产业的发展提供了巨大的市场。技术的逐渐成熟,使得交流伺服系统市场呈现出快速且多元化的发展,并成为工业自动化的支撑性技术之一。
目前,国内高端市场主要被来自日本和欧美的国外名企所占据,国外品牌占据了中国交流伺服市场近80%的市场份额。其中,日系产品以约50%的市场份额居首,其产品特点是技术和性能水平比较符合中国用户的需求,以良好的性价比和较高的可靠性获得了稳定且持续的客户源,在中小型OEM市场上尤其具有垄断优势。未来几年,我国伺服系统行业受益于产业升级的影响,将保持较快增长,国产替代进口品牌空间还很大。

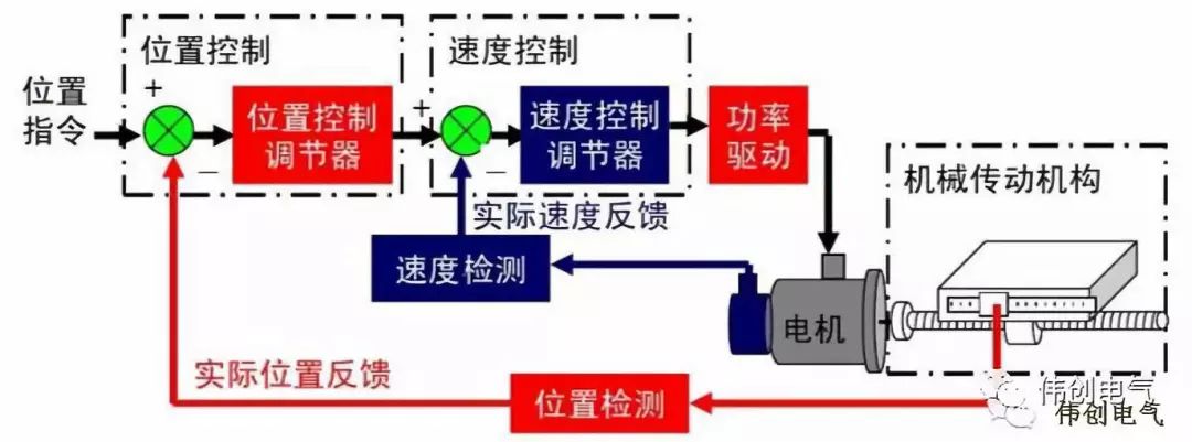
伺服系统是以机械运动的驱动设备,电动机为控制对象,以控制器为核心,以电力电子功率变换装置为执行机构,在自动控制理论的指导下组成的电气传动自动控制系统。伺服系统由指令机构、伺服驱动器、伺服电机、反馈机构四大部分构成,指令机构是发脉冲或者给速度伺服驱动器的,伺服驱动器是伺服电机的功率电源,常用的驱动元件有IPM模块,伺服电机是执行机构,就是靠它来实现运动的,编码器就是反馈机构。 通俗来说,伺服控制器就是脑袋,伺服电机中的马达相当于是人的手,伺服电机编码器的作用就相当于人的眼睛,起到反馈作用。伺服反馈编码器对伺服电机的重要特性具有决定性的影响,主要体现以下方面:
01定位精度
02速度稳定性
03带宽,它决定驱动指令的响应时间和抗干扰性能
04伺服刚性
05电机尺寸
06功率损耗
07噪音与发热
08安全性
目前,SD700系列伺服作为伟创公司的明星产品,采用了国际领先的电机控制算法,并搭配23/24位高精度编码器,具有控制精度高,跟踪响应快,调试简单方便等特点,可满足中高端通用伺服应用需求的功能及性能。该伺服单元可以在最短的时间内最大限度地发挥机器性能,有助于提高生产效率。为了方便客户更好的使用伟创伺服产品,更好地保护电机及编码器。下面对伺服电机的安装使用注意事项做一个简单介绍。
伺服电机安装使用注意事项
01伺服电机油和水的保护
A. 伺服电机可以用在会受水或油滴侵袭的场所,但是它不是全防水或防油的。因此, 伺服电机不应当放置或使用在水中或油浸的环境中。

B. 如果伺服电机连接到一个减速齿轮,使用伺服电机时应当加油封,以防止减速齿轮的油进入伺服电机。 C. 在轴贯通部会被溅到油滴的环境中使用时,请选择带油封的伺服电机。如果不会被溅到油滴则可使用标准伺服电机。

D. 伺服电机的电缆不要浸没在油或水中,如果要使用,请使用耐油电缆,耐油电缆请用户自备。

02伺服电机电缆→减轻应力
A. 确保电缆不因外部弯曲力或自身重量而受到力矩或垂直负荷,尤其是在电缆出口处或连接处。 B. 在伺服电机移动的情况下,应把电缆(就是随电机配置的那根)牢固地固定到一个静止的部分(相对电机),并且应当用一个装在电缆支座里的附加电缆来延长它,这样弯曲应力可以减到最小。 C. 电缆的弯头半径做到尽可能大。 注:连接线缆时弯曲半径不宜过小,也不宜对线缆施加过大的张力。特别是信号线的芯线线径通常为0.2mm、0.3mm,非常细,配线时不宜张拉过紧。
03伺服电机允许的轴端负载
A. 确保在安装和运转时加到伺服电机轴上的径向和轴向负载控制在每种型号的规定值以内。 B. 在安装一个刚性联轴器时要格外小心,特别是过度的弯曲负载可能导致轴端和轴承的损坏或磨损。 C. 最好用柔性联轴器,以便使径向负载低于允许值,此物是专为高机械强度的伺服电机设计的。推荐使用允许一定偏心偏角的双板簧联轴器。
04伺服电机安装注意
A. 在安装/拆卸耦合部件(联轴器、皮带轮、链轮等)到伺服电机轴端时,不要用锤子直接敲打轴端。(锤子直接敲打轴端,伺服电机轴另一端的编码器容易被敲坏),在拆卸伺服电机耦合部件时,对于比较难拆的耦合部件最好使用拉拔进行拆卸。

注:① 安装/拆卸耦合部件时,一定要注意对伺服电机编码器的保护 (编码器属于高精密产品,受到外部的震动及敲打之后,容易损坏) ② 电机轴与耦合部件安装比较困难时,请根据现场实际情况对电机轴表面或者耦合部件内径表面进行打磨,打磨好后加上润滑剂(黄油、机油)重新装配。 B. 轴键的安装请使用产品附带的轴键或符合使用说明书中所规定尺寸的轴键,安装与拆卸轴键时请勿使用工具进行强力敲击。

C. 竭力使轴端对齐到最佳状态(对不好可能导致振动或轴承损坏)。

总结
正确的安装使用伺服电机,不仅可以提高伺服电机的使用寿命,还可以节省安装时间,快速完成设备的调试,提高工作效益。
审核编辑:汤梓红