阅读全文2022-05-27
阅读全文2022-05-26
贸泽开售Bosch BMP390气压传感器 改善紧急情况下的
阅读全文2022-05-26
阅读全文2022-05-26
阅读全文2022-05-26
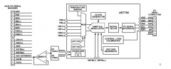
AT32讲堂007 | 关于AT32 MCU温度传感器的应用
阅读全文2022-05-26
阅读全文2022-05-26
阅读全文2022-05-26