时间:2006-04-15 13:05
人气:
作者:admin
一个实际变压器的电路模型示于图2,其中,图2a为低频等效电路,图2中各元件为:r1是初级电阻,L1为初级漏感,r2为次级电阻,L2为等效次级漏感,R0为等效铁耗电阻,L0为初级电感,C1和C2为初级和次级的等效集中电容,Cw为匝间电容,RL为次级负载。这里初级电感和电子管的板极阻抗构成一高通滤波器。显然,初级电感越大,低频响应越好。图2a中的Rp板极电阻,Rw为绕组电阻,L0初级电感,RL为次级负载乘以圈数比的平方。
图2b所示为变压器的高频等效电路。在高频段,初级电感足够大,对频响无影响,但是,漏感Lk绕线电容C共同构成一个二阶低通滤波器。
漏感和绕组电容均取决于变压器的结构方式。为了减少这两个因素对频响的影响,变压器的绕组通常采用分段绕法+从等效电路可以明显看出,为了得到良好的高频响应,漏感必须力求最小。
当板极电阻给定,而在计算所需初级电感量时,可以看到,板极电阻越低,所需初级电感量也急剧降低。事实上,如果输出阻抗可以做到零,则所需的初级电感也可以为零。类似地,可以证明,变压器引入的失真,在很大程度上也取决于板极电阻,如能实现零阻抗驱动,则失真也降为零。
所以在一个装置中优先采用三极管输出级,是因为三极电子管比五极管的板极阻抗低。因此,对于给定的低频响应,三极管的输出变压器所必须的初级电感也可以较低。大多数实际设计都采用深度负反馈来降低有效的板极电阻。
通常,反馈取自变压器的输出绕组,即在反馈环内包括有次级绕组。但是,由于输出变压器具有电抗元件,以这种方式可以引入的反馈量通常都有严格限制,以免引起寄生振荡。

解决这个问题的最佳路径是采用阴极输出级,如图3所示。此电路与固态电路中大家所熟悉的射极输出器具有类似功能。其电压增益总是小于1,但其输出阻抗比通常阴极接地的三极管放大器要小得多。而失真通常也小一个数量级。
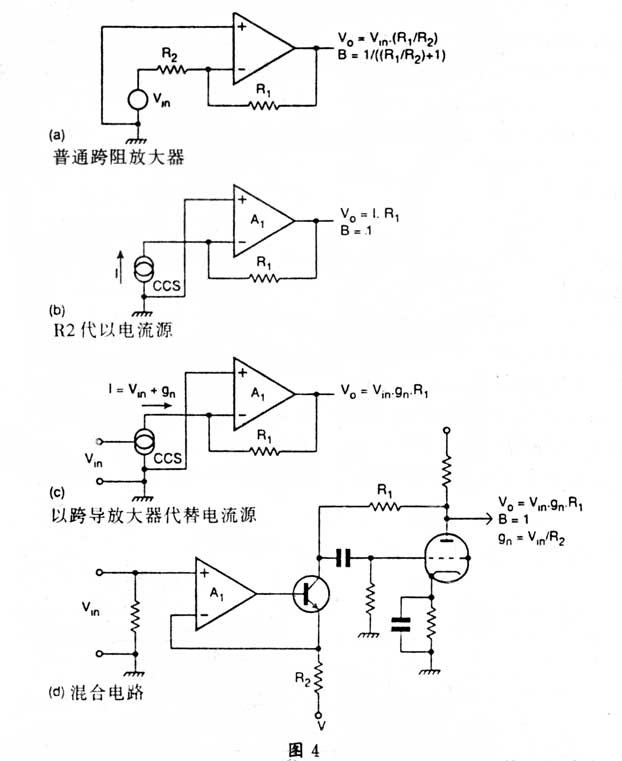
由于上述限制,使阴极输出器更多的用于实验室场合,因为驱动此类电路几乎需要在高压所允许的范围内给出双倍的信号振幅,但是,在开发下面介绍的实用电路之前,曾试验过推挽阴极输出器,由一个级间变压器(inte—stagtransformer)来驱动。不过,另外有一种办法可以产生阴极输出器同样的效果,它具有一般电子管输出级的全部优点而很少副作用。此电路是跨导(transcon—ductance)放大器和跨阻(transresistance)放大器的合并,如图4所示。

很难理解,为什么这种别致的电路未曾得到广泛使用。因为此类电路用少量元件即可得到很好的性能。图4a所示为工作方式有如普通虚拟接地放大器的跨阻放大器。
如果开环增益很高,则闭环性能由R1与R2之比来确定。如果R1由一恒流源来替代,则得图4b,此放大器在其反相端可“看到”100%的负反馈,其电压增益为零。
用一跨导放大器来代替恒流源,则放大器的输出为IKl,由跨阻级产生的失真很小,因为反馈系数p(信号反馈比)几乎为1。因为跨导放大器也可以做成单位增益,从而可得到个性能优良的电路。
在目前的电路中,跨阻放大器由一电子管来构成。而TL072运放反馈环中的晶体管则是跨导放大器的基础。在整个音频频段,此电路给出的输出阻抗大于10MI。所需的电压增益可以通过改变跨导比R2来获得,而跨导放大器和跨阻放大器的电压增益均为1。从驱动电路来的、平衡良好的推挽输出还需要驱动推挽输出级。为此,可以将运放的反相输入端经一电阻和隔直流电容而方便地获得对推挽输出级的驱动。
图4总括说明了整个设计思路,图4a为普通工作的虚拟电路的跨阻抗放大器,图4b为用恒定电流源替代电阻R2的电路,其反相输入端上有100%的负反馈,电压增益为零。图4c为以跨导放大器来替代恒流源的电路,由于反馈系数p近似为1而使失真很小。图4d将图4C转换为有电子管的混合电路。
有了图4电路的基础,现在可以讨论图5所示的混合式放大器的完整电路。输入信号通过R1馈至A1的同相输入端,从而设定了输入阻抗。运放A1与晶体管Trl共同构成一个如前所述的跨导放大器。反馈取自发射极电阻R3,经R2至A1的反相输入端。电阻R12和R13接至电源一Ve,并为Trl和Tr2提供偏置,以设定此级的静态电流。
从Trl集电极来的输出电流馈入R7,而电阻R7构成了电子管V1栅极-板极之间的分路。电容C1使电子管的栅极与Trl上的直流电平相隔离。R6使栅极有接地通路。对交流而言,R7和R6构成Trl的并联负载。由于电子管的增益,使此阻抗大减,约为原值的九分之一。
输出级的偏置由R10供给,C3为交流旁路电容,而屏栅极则由R14和R15偏置。
此电路的左右两半是相同的。分相作用是通过由电阻R11和隔直流电容C4共同对A1和A2反相输入端的耦合来实现的,这就导致在Trl和Tr2的发射极上出现二个相位相反、幅度相等的二个信号来驱动输出级。
从V1和V2来的输出电压加到Tl的初级线圈上,而高压则通过T1初级的中心抽头加到电子管上。音频输出信号取自Tl的次级线圈而加到扬声器上。电阻R16保证在未加适当负载时,输出级不致失控。
因为在电路内加有很深的负反馈,因此,无需通过输出变压器再引入过量反馈。但是,在做实验时,反馈可以取自输出变压器的输出侧,而引至A2的同相输入端。如果这样进行实验,则R11之值应减小,以增大开环增益。

高压电源
此电路的电源是常用的一般形式,T2的高压次级为280V,经BRl全波整流,再经C5和C6的并联组合进行平滑滤波。C5和C6的组合抑制了纹波,其上存贮有巨大的能量——约68焦耳。这样,即使在负载情况十分恶劣时,也有助于保持电源稳定。
供给运放电路的电源取自T2的灯丝次级。对于立体声放大器,每通道至少需要6V、3A。一个6—0—6V、50VA的变压器就足够了。
次级串联,D1和D2倍压,以提供2个直流电压,并由C7和C8平滑滤波。灯丝串联后加至12伏电源上,如电路图所示。因为此放大器完全处于平衡工作方式,有效地抑制了纹波,故使电源设计得以简化。
制作
此设计的制作并不复杂,样机使用了一般的机箱和底板。对于灯丝的接线,可用5A的扬声器电缆。灯丝接线应尽量靠近底板,但并不要象在低电平电子管电路中那样进行双股对绞。
在电容器C5、C6以及所有高压线路上,均加有致命的高压,而在电源变压器的初级则加有市电。电源一开,由EL34等构成的放大器即进入工作状态,在电源再次关断前,应保证灯丝加热。只要电子管接在电路中并导通,则在断电后,去耦电容将迅速放电。如果电子管未插入管座,高压就将维持{艮长时间,可能是几小时或几天。
此放大器无需调整。只要保证接线正确,此电路一开始就能正常工作。
结论
我们在此所做的努力值得吗?是的,值得。此样机给出的连续功率为每通道32W,满功率带宽为5Hz至55KHz,一3dB。在1KHz和20W输出时测得的失真为0.07%,输出阻抗仅为0.6Ω——远低于电子管放大器的标准值。
不但如此,此放大器还能胜任对恶劣负载的激励,并可以经受输出端被短路而不会造成损害。
元件清单
电阻:除有说明外,均为1%、2.5W金属膜电阻
R1 56K
R2/5 10K
R3/4 1K8
R6/9 60K
R12/13 68K
R7/8 220K
R10 470K,3W线绕
R11 6K8
R14/15 470K,lW
R16 1K,1W
电容
Cl,2 100nF,1000V WKG聚丙烯电容
C3 100μF,100V
C4 220pF,25V
C5、6 470μF,400V
C7、8 1000μF,63V
有源器件
A1/A2 TL072
V1/V2 EL34
Trl,2 2SC2547E
D1,2 1N4001
BRl W08
变压器
T1 输出变压器20:1匝数比,中心抽头。初级电感>8H,漏感<10mH。
T2 电源变压器,初级220V,次级280V,700mA,次级6—0—6V,4A