LP87332D 旨在满足工业应用中最新处理器和平台的电源管理要求。该器件具有 2 个降压型 DC/DC 转换器、2 个线性稳压器和 2 个通用数字输出信号。该设备由 I 控制^2^C 兼容串行接口和使能信号。
自动 PWM/PFM (AUTO 模式)作可在较宽的输出电流范围内提供高效率。LP87332D 支持远程电压感应,以补偿稳压器输出和负载点 (POL) 之间的 IR 压降,从而提高输出电压的精度。此外,开关时钟可以强制到 PWM 模式,也可以与外部时钟同步,以最大限度地减少干扰。
*附件:lp87332d.pdf
LP87332D 器件支持负载电流测量,无需添加外部电流检测电阻器。LP87332D 器件还支持可编程的启动和关断延迟以及序列,包括与使能信号同步的 GPO 信号。如果不需要外部时钟,则可通过 CLKIN 引脚的 pin multiplex 获得第二个 GPO 信号。在启动和电压变化期间,该器件控制输出转换速率,以最大限度地减少输出电压过冲和浪涌电流。
特性
- 器件工作温度范围:-40°C 至 +125°C 环境温度
- 输入电压:2.8 V 至 5.5 V
- 2 个高效降压 DC/DC 转换器:
- 输出电压:0.7 V 至 3.36 V
- 最大输出电流 3 A
- 可编程输出电压转换速率:0.5 mV/μs 至 10 mV/μs
- 2MHz 开关频率
- 扩频模式和相位交错,可降低 EMI
- 两个线性稳压器:
- 输入电压:2.5 V 至 5.5 V
- 输出电压:0.8 V 至 3.3 V
- 最大输出电流 300 mA
- 可配置的通用输出信号(GPO、GPO2)
- 具有可编程屏蔽的中断功能
- 可编程电源就绪信号 (PGOOD)
- 输出短路和过载保护
- 超温警告和保护
- 过压保护 (OVP) 和欠压锁定 (UVLO)
- 具有可湿性侧面的 28 引脚、5mm × 5mm VQFN 封装
参数

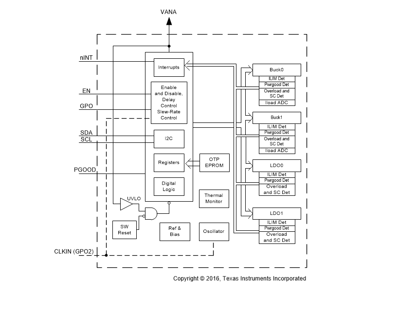
方框图

1. 概述
LP87332D是一款集成了两个高效率降压DC/DC转换器、两个线性调节器(LDO)和两个通用数字输出信号(GPO)的电源管理IC,专为工业应用设计。该器件通过I²C兼容串行接口和使能信号进行控制,支持自动PWM/PFM操作模式,具有可编程的输出电压斜率、远程电压感测、同步外部时钟、负载电流测量等功能。
2. 主要特性
- 降压DC/DC转换器:
- 输出电压范围:0.7V至3.36V
- 最大输出电流:3A
- 可编程输出电压斜率:0.5mV/µs至10mV/µs
- 2MHz开关频率
- 支持扩展频谱模式和相位交错,减少EMI
- 线性调节器(LDO) :
- 输出电压范围:0.8V至3.3V
- 最大输出电流:300mA
- 其他特性G:PO
和 G-PO 可2配置的信号 - 中断功能,具有可编程屏蔽
- 可编程的电源良好信号(PGOOD)
- 输出短路和过载保护
- 过热警告和保护
- 过电压保护(OVP)和欠压锁定(UVLO)
3. 应用场景
LP87332D适用于需要高效、灵活电源管理的工业应用,如处理器和平台的供电。
4. 功能描述
- 自动PWM/PFM操作:根据负载电流自动在PWM和PFM模式之间切换,以优化效率。
- 远程电压感测:补偿调节器输出和负载点(POL)之间的IR压降,提高输出电压准确性。
- 同步外部时钟:支持将降压转换器的开关时钟同步到外部时钟,减少干扰。
- 负载电流测量:无需外部电流感测电阻即可监测负载电流。
- 可编程启动和关闭延迟:包括GPO信号与使能信号的同步控制。
5. 封装与订购信息
- 封装:28引脚、5mm×5mm VQFN封装,带有湿侧翼
- 订购信息:请参考数据手册中的订购指南部分,获取具体的订购信息和包装选项。
6. 布局与散热
- 布局指南:提供了PCB布局时的注意事项,包括电容的放置、地线的连接、电源和信号路径的分离等,以优化性能和减少噪声。
- 散热设计:数据手册中提供了热阻和热信息,以帮助用户进行散热设计,确保IC在正常工作温度下运行。
7. 文档与支持
- 数据手册:提供了详细的电气特性、功能描述、应用信息和布局指南。
- 设计支持:TI提供了多种设计支持资源,包括应用报告、设计检查表和评估模块用户指南等。
- 社区资源:用户可以通过TI的E2E在线社区获取技术支持和与其他工程师交流经验。
LP87332D以其高效率、灵活性和丰富的保护功能,成为工业应用中电源管理的理想解决方案。