LP87332D-Q1 旨在满足汽车摄像头和雷达应用中最新处理器和平台的电源管理要求。该器件具有 2 个降压型 DC/DC 转换器、2 个线性稳压器和 2 个通用数字输出信号。该设备由 I 控制^2^C 兼容串行接口和使能信号。
自动 PWM/PFM (AUTO 模式)作可在较宽的输出电流范围内提供高效率。LP87332D-Q1 支持远程电压感应,以补偿稳压器输出和负载点 (POL) 之间的 IR 压降,从而提高输出电压的精度。此外,开关时钟可以强制到 PWM 模式,也可以与外部时钟同步,以最大限度地减少干扰。
*附件:LP87332D-Q1 双通道大电流降压转换器和双通道线性稳压器数据表 .pdf
LP87332D-Q1 器件还支持可编程的启动和关断延迟以及序列,包括与使能信号同步的 GPO 信号。在启动和电压变化期间,该器件控制输出转换速率,以最大限度地减少输出电压过冲和浪涌电流。
特性
- 符合 AEC-Q100 标准,结果如下:
- 器件温度等级 1:-40°C 至 +125°C 环境工作温度
- 输入电压:2.8 V 至 5.5 V
- 2 个高效降压 DC/DC 转换器:
- 输出电压:0.7 V 至 3.36 V
- 最大输出电流 3 A
- 可编程输出电压转换速率:0.5 mV/μs 至 10 mV/μs
- 2MHz 开关频率
- 扩频模式和相位交错,可降低 EMI
- 两个线性稳压器:
- 输入电压:2.5 V 至 5.5 V
- 输出电压:0.8 V 至 3.3 V
- 最大输出电流 300 mA
- 可配置的通用输出信号(GPO、GPO2)
- 具有可编程屏蔽的中断功能
- 可编程电源就绪信号 (PGOOD)
- 输出短路和过载保护
- 超温警告和保护
- 过压保护 (OVP) 和欠压锁定 (UVLO)
- 具有可湿性侧面的 28 引脚、5mm × 5mm VQFN 封装
参数

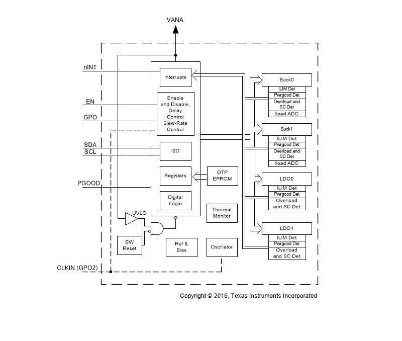
方框图

1. 概述
LP87332D-Q1 是一款专为汽车应用设计的双通道大电流降压转换器(DC/DC)和双通道线性稳压器(LDO)。该器件通过 I²C 兼容串行接口和使能信号进行控制,支持自动 PWM/PFM(AUTO 模式)操作,以实现宽输出电流范围内的高效率。
2. 主要特性
- AEC-Q100 认证:适用于汽车级应用,温度等级为 -40°C 至 +125°C。
- 输入电压范围:2.8V 至 5.5V。
- 输出特性:
- 降压 DC/DC 转换器:
- 输出电压范围:0.7V 至 3.36V。
- 最大输出电流:3A。
- 可编程输出电压上升斜率。
- 线性稳压器:
- 输入电压范围:2.5V 至 5.5V。
- 输出电压范围:0.8V 至 3.3V。
- 最大输出电流:300mA。
- 可编程功能:包括启动和关机延迟、GPO 信号同步等。
- 保护特性:短路保护、过载保护、过温警告和保护、输入过压保护(OVP)和欠压锁定(UVLO)。
3. 功能描述
- 自动 PWM/PFM 模式:根据负载电流自动调整工作模式,以提高效率。
- 远程电压感测:补偿调节器输出与负载点(POL)之间的 IR 压降,提高输出电压精度。
- 同步时钟功能:支持外部时钟同步,减少 EMI。
- 可编程电源良好(PGOOD)信号:用于指示电源状态。
- 中断功能:具有可编程的中断屏蔽和状态指示。
4. 应用
- 汽车摄像头和雷达应用中的电源管理。
- 需要高效、可靠电源管理的其他汽车电子设备。
5. 封装与尺寸
- 封装类型:28 引脚 VQFN 封装。
- 尺寸:5.00mm × 5.00mm。
6. 电气特性
- 转换效率:高达 94%(具体取决于输入电压、输出电压和负载电流)。
- 静态电流:待机模式下低至 9μA。
- 输出电压精度:±2% 至 ±20mV(具体取决于输出电压范围和操作模式)。
7. 布局指南
- 电容选择:
- 输入电容:每个降压转换器至少需要 1.9μF 的有效电容。
- 输出电容:每个降压转换器推荐使用 22μF 至 500μF 的陶瓷电容。
- 线性稳压器输入和输出电容:根据具体应用选择合适的电容值。
- 接地设计:良好的接地对于减小噪声和确保性能至关重要。
- PCB 布局:注意高频信号和大电流的布线,以减少干扰和损耗。
8. 编程与接口
- I²C 接口:支持标准模式(100kHz)、快速模式(400kHz)、快速+模式(1MHz)和高速模式(3.4MHz)。
- 寄存器映射:提供了详细的寄存器映射,用于配置和控制器件的各种功能。