LP87524B/J/P-Q1 旨在满足各种汽车电源应用中最新处理器和平台的电源管理要求。该器件包含 4 个降压 DC-DC 转换器内核,配置为 4 个单相输出。该设备由 I 控制^2^C 兼容串行接口和 BY 使能信号。
自动 PFM/PWM (AUTO 模式)作可在较宽的输出电流范围内最大限度地提高效率。LP87524B/J/P-Q1 支持远程电压感应,以补偿稳压器输出和负载点 (POL) 之间的 IR 压降,从而提高输出电压的精度。此外,开关时钟可以强制到 PWM 模式,也可以与外部时钟同步,以最大限度地减少干扰。
*附件:lp87524j-q1.pdf
LP87524B/J/P-Q1 器件支持负载电流测量,无需添加外部电流检测电阻器。此外,LP87524B/J/P-Q1 支持可编程的启动和关断延迟以及同步序列以启用信号。这些序列还可以包括 GPIO 信号,用于控制外部稳压器、负载开关和处理器复位。在启动和电压变化期间,该器件控制输出转换速率,以最大限度地减少输出电压过冲和浪涌电流。
特性
- 适用于汽车应用
- 符合 AEC-Q100 标准,结果如下:
- 器件温度 1 级:-40°C 至 +125°C 环境工作温度
- 输入电压:2.8 V 至 5.5 V
- 输出电压:0.6 V 至 3.36 V
- 四个高效降压 DC-DC 转换器内核:
- 总输出电流高达 10 A
- 输出电压转换速率 3.8 mV/μs
- 4MHz 开关频率
- 扩频模式和相位交错
- 可配置的通用 I/O (GPIO)
- 我^2^C 兼容接口,支持标准 (100 kHz)、快速 (400 kHz)、快速+ (1 MHz) 和高速 (3.4 MHz) 模式
- 具有可编程掩码的中断功能
- 可编程电源良好信号 (PGOOD)
- 输出短路和过载保护
- 超温警告和保护
- 过压保护 (OVP) 和欠压锁定 (UVLO)
参数

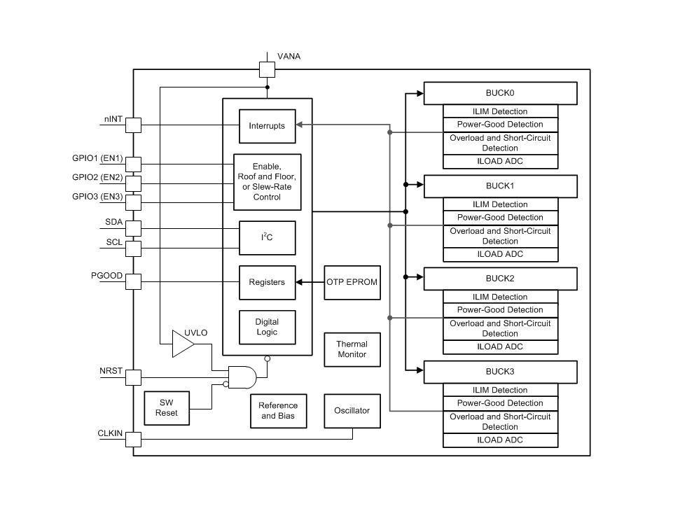
方框图

1. 概述
LP87524J-Q1是一款专为汽车应用设计的四通道4-MHz降压转换器(Buck Converter),适用于高级无线模块(AWR)和图像处理无线模块(IWR)的电源管理。该器件具备高效率、高功率密度和多种保护功能,能够满足汽车应用中对于电源管理的严格要求。
2. 主要特性
- 四通道4-MHz降压转换器:
- 总输出电流高达10A。
- 输出电压范围:0.6V至3.36V。
- 电压输出斜率:3.8mV/µs。
- 汽车级认证:
- 符合AEC-Q100标准,适用于-40°C至+125°C的环境温度范围。
- 高效能:
- 自动PFM/PWM模式切换,根据负载电流优化效率。
- 支持扩频模式和相位交错,减少EMI。
- 可编程功能:
- I²C接口支持标准(100kHz)、快速(400kHz)、快速+(1MHz)和高速(3.4MHz)模式。
- 可编程输出电压、电流限制、软启动时间等。
- 支持远程电压感测,补偿POL点的IR压降。
- 多种保护功能:
- 输出短路和过载保护。
- 过温警告和保护。
- 过电压保护(OVP)和欠压锁定(UVLO)。
- 灵活的GPIO配置:
- 可配置为通用输入/输出或使能信号。
- 支持可编程的启动和关机延迟。
3. 应用
- 适用于汽车信息娱乐系统、仪表盘、雷达和摄像头等应用中的电源管理。
4. 封装与尺寸
- 采用26引脚VQFN封装,尺寸为4.5mm x 4.0mm,带有散热焊盘。
5. 电气特性
- 输入电压范围:2.8V至5.5V。
- 支持外部时钟同步,频率范围:1MHz至24MHz。
- 转换效率高达90%以上,具体取决于输入电压、输出电压和负载电流。
6. 布局与热管理
- 强调了输入和输出电容、电感以及旁路电容的选择和布局要求。
- 提供了布局示例,以帮助设计者优化PCB布局,实现最佳性能和热管理。
7. 编程与寄存器
- 通过I²C接口进行编程和控制。
- 提供了详细的寄存器映射和说明,包括输出电压设置、使能控制、保护设置、GPIO配置等。
8. 文档与支持
- 提供了详细的数据手册和应用指南。
- 可通过TI的官方网站获取相关技术支持和文档更新通知。
9. 注意事项
- 在使用过程中需遵守静电放电(ESD)预防措施。
- 在进行电源设计时,需考虑输入电压的稳定性、输出电容的ESR和ESL特性、以及热管理等因素。
- 根据具体应用需求,合理配置和保护功能,以确保电源系统的稳定性和可靠性。