全球最实用的IT互联网信息网站!
AI人工智能P2P分享&下载搜索网页发布信息网站地图
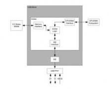
基于Modus ToolBox创建Demo工程以评估USBD模块
阅读全文2023-08-15
电感的毛刺现象是什么意思?如何解决感应毛刺
UDP有发送缓存区吗?如何解决UDP丢包的问题呢?
基于CW32的PID温度控制案例分享
阅读全文2023-08-14
怎样分析负反馈运放电路呢?运放负反馈电路学
STM32H743以太网驱动调试过程简析
瑞萨m3芯片和地平线征程3哪个好?
GPU Microarch学习笔记
非线性光学超构表面的基础知识与应用概述
提高固态再转化反应活性,缓解锂捕获实现高初
数十年技术积淀,高通跃龙产品组合直击
英伟达官宣H20恢复中国供应,新款GPU震撼
RZ/A3M 1 GHz微处理器(MPU)数据手册和产品
Nordic 收购 Neuton.AI # Neuton ML 模型解锁 So
CPU | 内存 | 硬盘 | 显卡 | 显示器 | 主板 | 电源 | 键鼠 | 网站地图
Copyright © 2025-2035 诺佳网 版权所有 备案号:赣ICP备2025066733号 本站资料均来源互联网收集整理,作品版权归作者所有,如果侵犯了您的版权,请跟我们联系。