时间:2025-04-29 14:30
人气:
作者:admin
OPAx192 系列(OPA192、OPA2192 和 OPA4192)是新一代 36V e-trim 运算放大器。
数据手册:*附件:OPA192 高电压、轨到轨输入和输出、5µV、精密运算放大器技术手册.pdf
这些器件具有卓越的直流精度和交流性能,包括轨到轨输入/输出、低偏移(典型值:±5µV)、低零漂(典型值:±0.2µV/°C)和 10MHz 带宽。
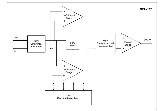
OPA192 系列 拥有 诸多独一无二的特性,例如电源轨的差分输入电压范围、高输出电流 (±65mA)、高达 1nF 的高容性负载驱动以及高压摆率 (20V/µs),是稳健耐用的高性能运算放大器,适用于各种高压的工业级 应用。
OPA192 系列运算放大器采用标准封装,在 -40°C 至 +125°C 的额定温度范围内工作。
特性
• 低失调电压:±5µV
• 低失调电压漂移:±0.2µV/°C
• 低噪声:1kHz 时为 5.5nV/√Hz
• 高共模抑制:140dB
• 低偏置电流:±5pA
• 轨到轨输入和输出
• 高带宽:10MHz GBW
• 高压摆率:20V/µs
• 低静态电流:每个放大器 1mA
• 宽电源电压范围:±2.25V 至 ±18V,4.5V 至 36V
• 已过滤电磁干扰 (EMI)/射频干扰 (RFI) 的输入
• 达到电源轨的差分输入电压范围
• 高容性负载驱动能力:1nF
• 工业标准封装:
– 单通道电源版本采用 SOIC-8、SOT-23-5 和VSSOP-8 封装
– 双通道电源版本采用 SOIC-8 和 VSSOP-8 封装
– 四通道电源版本采用 SOIC-14 和 TSSOP-14 封装
引脚功能和配置

典型特性
功能方框图
应用
• 多路复用数据采集系统
• 测试和测量设备
• 高分辨率模数转换器 (ADC) 驱动器放大器
• 逐次逼近寄存器 (SAR) ADC 基准缓冲器
• 可编程逻辑控制器
• 高侧和低侧电流检测
• 高精度比较器
龙腾半导体SGT MOSFET LSGT085R018在智慧农业无