时间:2025-04-23 09:52
人气:
作者:admin
OPAx191 系列(OPA191、OPA2191 和 OPA4191)是新一代 36V e-trim™ 运算放大器。
数据手册:*附件:OPA2191 36V、低功耗、e-trim™ CMOS 精密运算放大器技术手册.pdf
这些器件具有卓越的直流精度和交流性能,包括轨到轨输入/输出、低偏移电压(典型值:±5µV)、低偏移漂移(典型值:±0.2µV/°C)和 2MHz 带宽。
OPAx191 具有独特功能,例如电源轨的差分输入电压范围、高输出电流 (±65mA)、高达 1nF 的高容性负载驱动以及高压摆率 (5V/µs),是一款稳定可靠的高性能运算放大器,适用于各种高电压工业应用。
OPAx191 系列运算放大器采用标准封装,在 -40°C 至 +125°C 的额定温度范围内工作。
特性
• 低失调电压:±5µV
• 低失调电压漂移:±0.1µV/°C
• 低噪声:1kHz 时为 15nV/√Hz
• 高共模抑制:140 dB
• 低偏置电流:±5pA
• 轨至轨输入和输出
• 宽带宽:2.5MHz GBW
• 高压摆率:5 V/µs
• 低静态电流:每个放大器 140µA
• 宽电源电压:±2.25V 至 ±18V,4.5V 至 36V
• EMI/RFI 滤波输入
• 电源轨的差分输入电压范围
• 高容性负载驱动能力:1nF
• 行业标准封装:
– SOIC-8、SOT-5 和 VSSOP-8 单体封装
– SOIC-8 和 VSSOP-8 双列封装
– SOIC-14、TSSOP-14 和 WQFN-16 四列封装
引脚功能和配置
典型特性
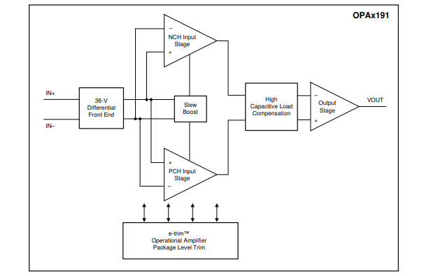
功能方框图
应用
• 模拟输入模块
• 混合模块(AI、AO、DI、DO)
• 数据采集 (DAQ)
• 源测量单元 (SMU)
• 压力变送器
• 列车控制和管理系统
• 实验室和现场仪表
龙腾半导体SGT MOSFET LSGT085R018在智慧农业无