时间:2025-04-24 10:37
人气:
作者:admin
OPAx197 系列(OPA197、OPA2197 和 OPA4197)是新一代 36V 运算放大器。
数据手册:*附件:OPA4197 四路、36V、精密轨到轨输入-输出、低失调电压运算放大器技术手册.pdf
这些器件具有出色的直流精度和交流性能,包括轨至轨输入/输出、低偏移(典型值为 ±25µV)、低温漂(典型值为 ±0.25µV/°C)和 10MHz 带宽。
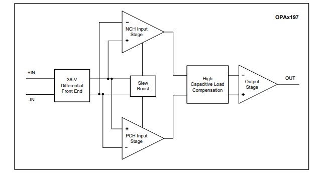
OPAx196 拥有 拥有诸多独一无二的特性,例如电源轨的差分输入电压范围、高输出电流 (±65mA)、高达 1nF 的高容性负载驱动以及高转换率 (20V/µs),是稳健耐用的高性能运算放大器,适用于各种高压工业 应用。
OPA197 系列运算放大器采用标准封装,在 -40°C 至 +125°C 的额定温度范围内工作。
特性
• 低失调电压:±100µV(最大值)
• 低失调电压温漂:±2.5µV/°C(最大值)
• 低噪声:1kHz 时为 5.5nV/√Hz
• 高共模抑制:120dB(最小值)
• 低偏置电流:±5pA(典型值)
• 轨到轨输入和输出
• 高带宽:10MHz GBW
• 高压摆率:20V/µs
• 低静态电流:每个放大器 1mA(典型值)
• 宽电源电压范围:±2.25V 至 ±18V,+4.5V 至
+36V
• 已过滤电磁干扰 (EMI) 和射频干扰 (RFI) 的输入
• 电源轨的差分输入电压范围
• 高容性负载驱动能力:1nF
• 行业标准封装:
– SOIC-8、SOT-5 和 VSSOP-8 单体封装
– SOIC-8 和 VSSOP-8 双列封装
– 四通道电源版本采用 SOIC-14 和 TSSOP-14 封装
引脚功能和配置

典型特性
功能方框图
应用
• 多路复用数据采集系统
• 测试和测量设备
• 高分辨率模数转换器 (ADC) 驱动器放大器
• SAR ADC 基准缓冲器
• 可编程逻辑控制器
• 高侧和低侧电流检测
• 高精度比较器
龙腾半导体SGT MOSFET LSGT085R018在智慧农业无