时间:2025-04-10 09:35
人气:
作者:admin
OPAx991 系列(OPA991、OPA2991 和 OPA4991)是高电压 (40V) 通用运算放大器系列。这些器件具有出色的直流精度和交流性能,包括轨至轨输入/输出、低失调电压(典型值为 ±125µV)、低温漂(典型值为 ±0.3µV/°C)、低噪声(10.5nV/√Hz 和 1.8µV PP )和 4.5MHz 带宽。
数据手册:*附件:OPA4991 四通道、40V、4.5MHz、低功耗运算放大器技术手册.pdf
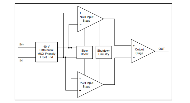
OPAx991 具有诸如电源轨差分和共模输入电压范围、高输出电流 (±75mA)、高压摆率 (21V/µs)、高容性负载驱动 (1nF) 和关断等独特的功能,是一款稳定可靠的高性能运算放大器,适用于各种高电压工业应用。
OPAx991 系列运算放大器采用微型 封装(例如 X2QFN 和 WSON)以及标准封装(例如 SOT-23、SOIC 和 TSSOP),额定工作温度范围为 –40°C 至 125°C。
特性
• 低失调电压:±125µV
• 低失调电压漂移:±0.3µV/°C
• 低噪声:1 kHz 时为 10.8nV/√Hz
• 高共模抑制:130dB
• 低偏置电流:±10pA
• 轨至轨输入和输出
• 宽带宽:4.5MHz GBW
• 高压摆率:21V/µs
• 高容性负载驱动:1nF
• 支持多路复用器/比较器的输入
– 放大器以最高达到电源轨的差分输入工作
– 放大器可用于开环中,也可用作比较器
• 低静态电流:每个放大器 560µA
• 宽电源电压:±1.35V 至 ±20V,2.7V 至 40V
• 强大的 EMIRR 性能:输入引脚和电源引脚上采用
EMI/RFI 滤波器
• 电源轨的差分和共模输入电压范围
引脚功能和配置
典型特性
功能方框图
典型应用
应用
• 低功率音频前置放大器
• 多路复用数据采集系统
• 测试和测量设备
• ADC 驱动器放大器
• SAR ADC 基准缓冲器
• 可编程逻辑控制器
• 高侧和低侧电流感测
龙腾半导体SGT MOSFET LSGT085R018在智慧农业无