时间:2025-03-24 14:08
人气:
作者:admin
TLV916x-Q1 系列(TLV9161-Q1、TLV9162-Q1 和 TLV9164-Q1)是 16V 通用汽车级运算放大器系列。这些器件具有出色的直流精度和交流性能,包括轨到轨输入或输出、低失调电压(典型值为 ±210µV)、低温漂(典型值为 ±0.25µV/°C)和低噪声(1kHz 时为 6.8nV/√Hz,10kHz 时为 4.2nV/√Hz)。
数据手册:*附件:TLV9161-Q1 汽车类、单通道、16V、11MHz 轨到轨输入和输出运算放大器技术手册.pdf
TLV916x-Q1 具有诸多特性,例如宽差分输入电压范围、高短路电流 (±73mA) 和高压摆率 (33V/µs),是一款灵活可靠的高性能运算放大器,适用于汽车应用。
TLV916x-Q1 系列运算放大器采用标准封装,额定工作温度范围为 -40°C 至 125°C。
特性
• 符合面向汽车应用的 AEC-Q100 标准
– 温度等级 1:–40°C 至 +125°C,TA
– 器件 HBM ESD 分类等级 3A
(≥2500V)
– 器件 CDM ESD 分类等级 C3
(≥1500V)
• 低失调电压:±210µV
• 低失调电压漂移:±0.25µV/°C
• 低噪声:1kHz 时为 6.8nV/√Hz,4.2nV/√Hz 宽带
• 高共模抑制:110dB
• 低偏置电流:±10pA
• 轨到轨输入和输出
• 高带宽:11MHz GBW,单位增益稳定
• 高压摆率:33V/µs
• 低静态电流:每个放大器 2.4mA
• 宽电源电压:±1.35V 至 ±8V,2.7V 至 16V
• 强大的 EMIRR 性能
引脚配置和功能
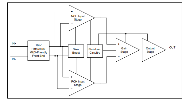
典型特性
功能方框图
应用
• 针对 AEC-Q100 1 级应用进行了优化
• 信息娱乐系统与仪表组
• 被动安全
• 车身电子装置和照明
• 混合动力汽车/电动汽车逆变器和电机控制
• 车载充电器 (OBC) 和无线充电器
• 动力总成电流传感器
• 高级驾驶辅助系统 (ADAS)
• 高侧和低侧电流检测
龙腾半导体SGT MOSFET LSGT085R018在智慧农业无