时间:2025-03-27 09:33
人气:
作者:admin
OPA4H199-SEP 是一款适用于航天应用的高电压 (40V) 通用运算放大器。该器件具有出色的直流精度和交流性能,包括轨至轨输入/输出、低失调电压(典型值为 ±125µV)、低温漂(典型值为 ±0.3µV/°C)、低噪声(10.8nV/√Hz 和 1.8µV PP )和 4.5MHz 带宽。
数据手册:*附件:OPA4H199-SEP 航天增强型产品四路 40V 4.5MHz 轨到轨输入和输出运算放大器技术手册.pdf
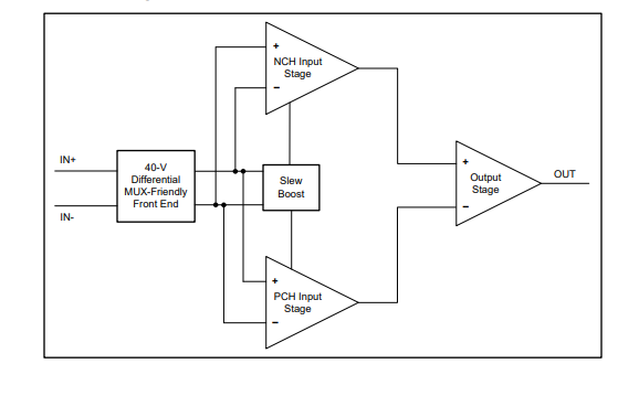
OPA4H199-SEP 具有独特功能,例如电源轨的差分和共模输入电压范围、高输出电流 (±75mA)、高压摆率 (21V/µs) 和高容性负载驱动 (1nF),是一款稳定可靠的高性能运算放大器,适用于高电压航天应用。
OPA4H199-SEP 采用小型、耐辐射塑料、14 引脚 SOT-23 (DYY) 封装。SOT-23 (DYY) 封装的封装尺寸大小不足传统 14 引脚陶瓷封装尺寸的五分之一。OPA4H199-SEP 额定运行温度为 -55°C 至 125°C。
特性
• 耐辐射
– 单粒子闩锁 (SEL) 在 125°C 下的抗扰度可达
43MeV-cm2
/mg
– 在高达 30krad (Si) 的条件下无 ELDRS
– 每个晶圆批次的 RLAT 总电离剂量 (TID) 高达
30krad (Si)
• 支持国防、航天和医疗应用
– 单受控基线
– 制造、组装和测试一体化基地
– 金线
– NiPdAu 铅涂层
– 支持军用(–55°C 至 125°C)温度范围
– 延长了产品生命周期
– 延长了产品变更通知
– 产品可追溯性
– 采用增强型模塑化合物实现低释气
• 低失调电压:±125µV
• 低噪声:1 kHz 时为 10.8nV/√Hz
• 高共模抑制:130dB
• 低偏置电流:±10pA
• 轨至轨输入和输出
• 宽带宽:4.5MHz GBW
• 高压摆率:21V/µs
• 高容性负载驱动:1nF
• 支持多路复用器/比较器的输入
• 低静态电流:每个放大器 560µA
• 宽电源电压:±1.35V 至 ±20V,2.7V 至 40V
• 强大的 EMIRR 性能:输入引脚和电源引脚上采用
EMI/RFI 滤波器
引脚功能和配置
典型特性
功能框图
应用
• 支持近地轨道航天应用
• 航天传感器和控制(遥测)
• 卫星电力系统 (EPS)
• 飞行控制
• 卫星命令和数据处理
• 卫星有效载荷
典型应用
龙腾半导体SGT MOSFET LSGT085R018在智慧农业无