时间:2025-03-27 11:41
人气:
作者:admin
LM324B 和 LM2902B 器件是业界通用运算放大器 LM324 和 LM2902 的下一代版本,其中包括四个高压 (36V) 运算放大器。这些器件为成本敏感型应用提供了卓越的价值。
数据手册:*附件:LM2902B 四通道、36V、1.2MHz运算放大器技术手册.pdf
其特性包括低失调电压(600µV,典型值)、接地共模输入范围以及高差分输入电压能力。
LM324B 和 LM2902B 的特点是单位增益稳定,每个放大器可实现最大 3mV(LM324BA 和 LM2902BA 最大 2mV)的低失调电压和 240µA(典型值)的静态电流。高 ESD(2kV HBM 和 1.5kV CDM)和集成 EMI 以及射频滤波器可支持将 LM324B 和 LM2902B 器件用于更严苛、更具环境挑战性的应用。
LM324B 和 LM2902B 可直接替代所有版本的 LM224、LM324 和 LM2902 器件。
特性
• 下一代 LM324B 和 LM2902B
• B 版本可直接替代所有版本的 LM224、LM324 和
LM2902
• 改进了 B 版本的规格
– 电源电压范围:3V 至 36V(B、BA 版本)
– 低输入失调电压:±2mV(BA 版本)/3mV(B
版本)
– ESD 等级:2kV (HBM),1.5kV (CDM)
– EMI 抑制:集成射频和 EMI 滤波器
– 低输入偏置电流:最大值为 50nA(在 –40°C
至 125°C 范围内)
• 共模输入电压范围包括 V–
• 输入电压差可驱动至电源电压
• 有关双路 B 版本,请参阅 LM358B 和 LM2904B
引脚功能和配置


典型特性
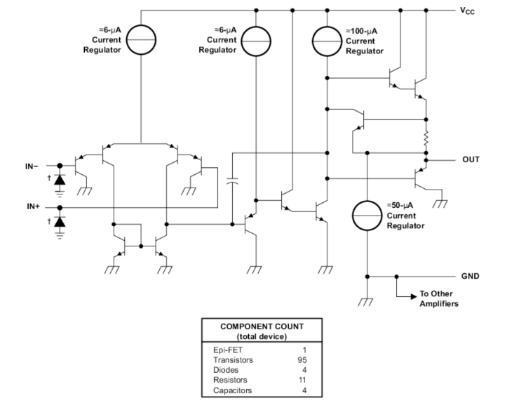
功能方框图
应用
• 商用网络和服务器电源单元
• 多功能打印机
• 电源和移动充电器
• 台式计算机和主板
• 室内外空调
• 洗衣机、烘干机和冰箱
• 交流逆变器、串式逆变器、中央逆变器和变频器
• 不间断电源
龙腾半导体SGT MOSFET LSGT085R018在智慧农业无