时间:2025-03-31 14:09
人气:
作者:admin
TLV916x 系列(TLV9161、TLV9162 和 TLV9164)是 16V 通用运算放大器系列。这些器件具有出色的直流精度和交流性能,包括轨到轨输入/输出、低失调电压(典型值为 ±210µV)、低温漂(典型值为 ±0.25µV/°C)和低噪声(1kHz 时为 6.8nV/√Hz,10kHz 时为 4.2nV/√Hz)。
数据手册:*附件:TLV9164 四路、16V、11MHz、轨到轨输入和输出低失调电压运算放大器技术手册.pdf
TLV916x 具有诸多特性,例如电源轨的差分和共模输入电压范围、高短路电流 (±73mA) 和高压摆率 (33V/µs),是一款灵活可靠的高性能运算放大器,适用于各种工业应用。
特性
• 低失调电压:±210µV
• 低失调电压漂移:±0.25µV/°C
• 低噪声:1kHz 时为 6.8nV/√Hz,宽带为 4.2nV/√Hz
• 高共模抑制:110dB
• 低偏置电流:±10pA
• 轨至轨输入和输出
• 支持多路复用器/比较器的输入
– 放大器的差分输入最高可达电源轨
– 放大器可用于开环中,也可用作比较器
• 高带宽:11MHz GBW,单位增益稳定
• 高压摆率:33V/µs
• 低静态电流:每个放大器 2.4mA
• 宽电源电压:±1.35V 至 ±8V,2.7V 至 16V
• 强大的 EMIRR 性能
引脚配置和功能
典型特性
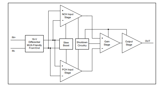
功能方框图
应用
• 专业麦克风和无线系统
• 多路复用数据采集系统
• 测试和测量设备
• 工厂自动化和控制
• 高侧和低侧电流检测
龙腾半导体SGT MOSFET LSGT085R018在智慧农业无