时间:2025-04-01 14:17
人气:
作者:admin
OPAx992 系列(OPA992、OPA2992 和 OPA4992)是高压 (40V) 通用运算放大器系列。这些器件具有出色的直流精度和交流性能,包括轨到轨输入/输出、低失调电压(典型值为 ±210µV)、低温漂(典型值为±0.25µV/°C)和低噪声(1kHz 时为 7nV/√Hz,10kHz 时为 4.4nV/√Hz)。
数据手册:*附件:OPA2992 双通道、40V、10.6MHz、轨到轨输入和输出低失调电压低噪声运算放大器技术手册.pdf
OPAx992 具有诸多特性,例如电源轨的差分和共模输入电压范围、高短路电流 (±65mA) 和高压摆率 (32V/µs),因此是一款灵活可靠的高性能运算放大器,适用于各种高电压工业应用。
OPAx992 运算放大器系列采用小型封装 ( 例如X2QFN 和 WSON)以及标准封装(例如 SOT-23、SOIC 和 TSSOP),额定工作温度范围为 –40°C 至125°C。
特性
• 低失调电压:±210µV
• 低失调电压漂移:±0.25µV/°C
• 低噪声:1kHz 时为 7nV/√Hz,4.4nV/√Hz 宽带
• 高共模抑制:115dB
• 低偏置电流:±10pA
• 轨至轨输入和输出
• 支持多路复用器/比较器的输入
– 放大器以最高达到电源轨的差分输入工作
– 放大器可用于开环中,也可用作比较器
• 高带宽:10.6MHz GBW,单位增益稳定
• 高压摆率:32V/µs
• 低静态电流:每个放大器 2.4mA
• 宽电源电压:±1.35V 至 ±20V,2.7V 至 40V
• 强大的 EMIRR 性能
引脚功能和配置
典型特性
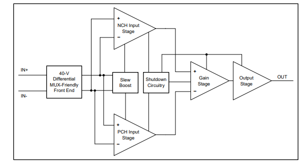
功能方框图
典型应用
应用
• 多路复用数据采集系统
• 测试和测量设备
• 电机驱动:功率级和控制模块
• 电力输送:UPS、服务器和商用网络电源
• ADC 驱动器和基准缓冲放大器
• 可编程逻辑控制器
• 模拟输入和输出模块
• 高侧和低侧电流检测
• 高精度比较器
龙腾半导体SGT MOSFET LSGT085R018在智慧农业无