时间:2025-03-19 14:04
人气:
作者:admin
OPAx990-Q1 系列(OPA990-Q1、OPA2990-Q1 和 OPA4990-Q1)是高压 (40V) 通用运算放大器系列。这些器件具有出色的直流精度和交流性能,包括轨至轨输入或输出、低失调电压(典型值为 ±300µV)和低温漂(典型值为 ±0.6µV/°C)。
数据手册:*附件:OPA4990-Q1 汽车级、四通道、40V、1.1MHz 低功耗 (0.12mA) 运算放大器技术手册.pdf
OPAx990-Q1 具有高达电源轨电压的差分和共模输入电压范围、高短路电流 (±80mA) 和高压摆率 (4.5V/µs) 等独特功能,是一款极其灵活且稳健的高性能运算放大器,适用于各种高压汽车类应用。
OPAx990-Q1 系列运算放大器采用多种标准封装(如 SOT-23、SOIC 和 TSSOP),其额定工作温度范围为 –40°C 至 125°C。
特性
• 低失调电压:±300µV
• 低失调电压漂移:±0.6µV/°C
• 低噪声:30nV/√Hz(1kHz)
• 高共模抑制:115dB
• 低偏置电流:±10pA
• 轨至轨输入和输出
• 支持多路复用器的比较器输入:
– 放大器以最高达到电源轨的差分输入工作
– 放大器可用于开环中,也可用作比较器
• 高带宽:1.1MHz GBW
• 高压摆率:4.5V/µs
• 低静态电流:每个放大器 120µA
• 宽电源电压:±1.35V 至 ±20V,2.7V 至 40V
• 强大的 EMIRR 性能:1.8GHz 时为 78dB
• 高达电源轨电压的差分和共模输入电压范围
引脚配置和功能
典型特性
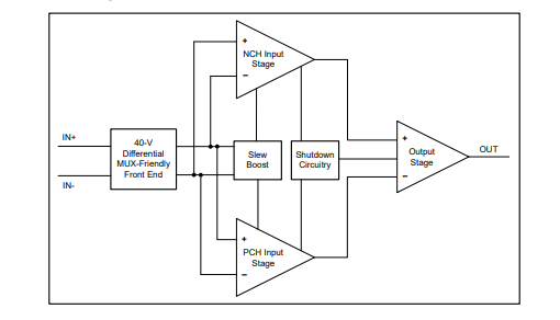
功能方框图
应用
• 针对 AEC-Q100 1 级应用进行了优化
• 混合动力汽车/电动汽车逆变器和电机控制
• 车载充电器 (OBC) 和无线充电器
• 混合动力汽车/电动汽车电池管理系统 (BMS)
• 车身电子装置和照明
• 信息娱乐系统与仪表组
• 被动安全
• 动力总成电流传感器
• 高侧电流检测
典型应用
龙腾半导体SGT MOSFET LSGT085R018在智慧农业无