时间:2025-03-06 14:14
人气:
作者:admin
关键要点
BM6337xS系列配备了可监控LVIC(Low Side Gate Driver)温度的热关断电路,当LVIC的Tj达到规定温度以上时,热关断电路将启动,会关断下桥臂各相的IGBT,并输出FO信号。
在TSD已启动的情况下,由于IGBT的Tj已超过150°C的绝对最大额定值,因此需要更换IPM。
该功能监控的Tj为LVIC芯片的Tj,无法跟上IGBT芯片的急剧温升,因此,在Tj急剧上升的情况下,该功能无法有效发挥作用,这一点需要注意。
本文将介绍第三个功能——“热关断保护功能”。请注意,该保护功能仅适用于BM6337xS系列。BM6357xS系列未配备该功能。
· 短路电流保护功能(SCP)
·控制电源欠压误动作防止功能(UVLO)
·热关断保护功能 (TSD) *仅限BM6337xS系列
·模拟温度输出功能(VOT)
·错误输出功能(FO)
·控制输入(HINU、HINV、HINW、LINU、LINV、LINW)
01热关断保护功能(TSD)
BM6337xS系列配备了可监控LVIC(Low Side Gate Driver,低边栅极驱动器)温度的热关断电路。当LVIC的温度达到规定温度以上时,热关断电路会启动,会关断下桥臂各相的IGBT,并输出FO信号。

02热关断保护功能的工作时序
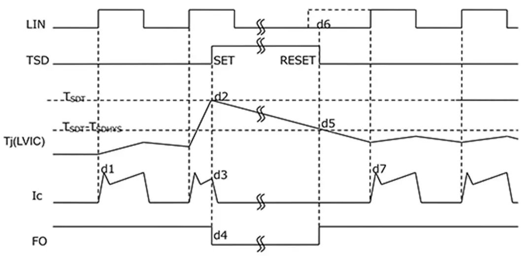
下面是内置于LVIC的LVCC热关断保护功能的工作时序图。d1~d7的工作说明是时序图中对应编号处的动作。
d1:正常工作过程中,IGBT导通时流过输出电流Ic
d2:当LVIC的Tj上升时,在TSDT处保护工作开始
d3:关断下侧桥臂各相的IGBT(无论LIN输入如何都关断)
d4:输出FO(180µs(Min)),TSD=H期间180µs以内时。当TSD=H期间为180µs以上时,在TSD=H的Tj下降至TSDT-TSDHYS的期间输出FO(FO=L)
d5:当LVIC的Tj下降时,在TSDT-TSDHYS处释放
d6:即使在LIN=H(虚线)时被释放,直到下一个LIN上升沿,IGBT仍保持关断状态。(通过对各相的LIN输入使各相逐一恢复为正常状态)
d7:正常工作。IGBT导通,并流过输出电流Ic

下面是安装IGBT IPM时热量向内部LVIC芯片的传递路径示意图。IGBT芯片产生的热量有两条传导路径,一条是经由键合线传导至LVIC芯片;另一条是经由芯片焊盘、封装背面的散热垫以及散热器,再回到封装树脂。

注意事项
·如果TSD功能启动并输出错误信号,需要立即停止运行,以免出现异常状态。
·当因错误输出而停止运行时,如果这是由冷却系统异常(如散热器松动或脱落、冷却风扇异常停止)引起的,则很可能会触发TSD并输出错误信号。此时,因为IGBT芯片的结温已超过150°C绝对最大额定值,所以需要更换IPM。
·该功能所监控的结温是低边IGBT栅极驱动器芯片(LVIC)的温度。请注意,因无法跟上IGBT芯片的急剧温升,在诸如电机堵转或过电流这类的结温急剧上升的情况下,该功能无效。
龙腾半导体SGT MOSFET LSGT085R018在智慧农业无