时间:2024-12-26 09:50
人气:
作者:admin
精密测试设备依靠精确的数据转换器,确保所有测量结果都能准确地反映受测器件的状态。在测试和测量中,任何偏移误差、增益误差或有效位数减少都将对测量结果产生负面影响。然而,遗憾的是,在高精度系统中,所有这些误差都无法完全避免。温度漂移或长期漂移等问题最终会以增益误差或偏移误差的形式表现出来。因此必须进行校准,确保所有测量结果都是准确的。
要实现有效的校准,必须提供稳定不变的电压电平。通俗地讲,可以称之为“黄金基准”。模数转换器 (ADC) 或数模转换器 (DAC) 测量这些已知电压电平时,可以比较测量结果并使用任何差值来确定增益误差和偏移误差。图 1 展示了此电路的配置示例。

图 1:ADC 校准的电路配置示例
在量化增益误差和偏移误差后,软件可以对这些差值进行补偿。这种校准方法对于确保测试应用的准确测量至关重要,它完全依赖于尽可能保持不变的黄金基准。当然,任何电路都不可能完全不变,因此即使是高精度的电压基准,随着时间的推移也会出现微小漂移。
埋入式齐纳二极管电压基准及其在校准中的重要性
如果黄金基准随着时间发生变化,整个系统的精度都会受到影响。影响系统精度的黄金基准参数包括长期漂移、温度漂移和噪声。
如果选择的电压基准要将表 1 中所列参数引起的误差降至最低,则会选择具有内部加热器的埋入式齐纳电压基准。埋入式齐纳电压基准能够提供在时间和温度变化下漂移极小的电压电平,并具有超低噪声。TI 的 REF80 就是此类器件的一个例子。表 1 还包括一些 REF80 性能规格。

表 1:电压基准参数和 REF80 规格
0.1Hz 至 10Hz 噪声和温度漂移会影响电压基准的输出,从而导致校准误差。不过,对于校准而言,最重要的规格是长期漂移,因为该参数直接影响整个系统需要校准的频率。
增加半导体测试设备的系统校准间隔时间
在测试和测量设备中校准 ADC 和 DAC 时,埋入式齐纳电压基准有助于确定 ADC 和 DAC 输出值的偏移程度。尽管埋入式齐纳电压基准随时间变化很小,但在高精度测试设备中,仍必须考虑输出电压的微小变化。许多测试和测量系统需要在几个月后校准黄金基准,确保依赖于黄金基准的系统校准依旧准确。图 2 展示了 REF80 的长期漂移。

图 2:REF80 输出电压长期漂移
图 2 的几个重要方面展示了为什么 REF80 非常适合高精度测试和测量系统的校准。首先,大多数输出电压漂移发生在器件运行的前 336 小时(或 14 天)内。这一点很重要,因为输出电压漂移稳定得越快,校准需求就越少,这是因为输出电压几乎不会发生同样大的漂移。换句话说,长期漂移的降低也会减少所需的校准次数。对于自动测试设备中的参数测量单元,该结果尤其重要(请参阅图 3)。

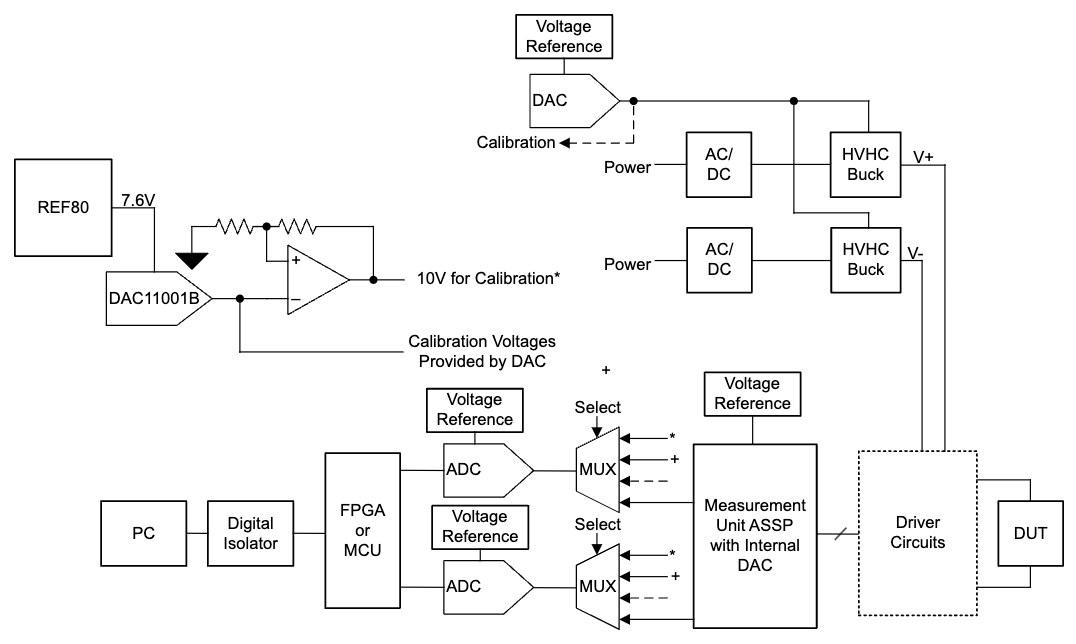
图 3:自动测试设备中的参数测量单元方框图
自动测试设备必须每隔几个月后进行一次校准,确保黄金基准的输出电压漂移不会影响测试仪测量的精度。每次校准时,整个系统都必须离线,这会耗费时间和成本。使用 REF80 等埋入式齐纳电压基准能够减少校准所需的时间和成本。
结语
通过将 REF80 与高级校准方法结合使用,精密测试和测量应用能够尽可能长时间地保持准确性。如果没有像 REF80 这样的精度,测试和测量将无法提供必要的结果,也不会推动先进电子产品持续发展。在我们努力开启精度新时代时,REF80 等器件可助您一臂之力。
龙腾半导体SGT MOSFET LSGT085R018在智慧农业无