时间:2022-08-02 15:40
人气:
作者:admin
01 反相比例运算电路

02 同相比例运算电路

03 电压跟随器

04 反相求和运算电路


05 同相求和运算电路


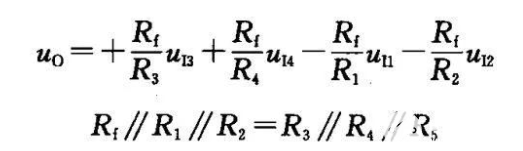
06 加减运算电路


07 加减电路


08 积分运算电路



09 实用积分电路

10 微分运算电路

11 实用微分电路


12 压控电压源二阶低通滤波器


13 压控电压源二阶高通滤波器 找元器件现货上唯样商城


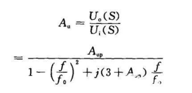
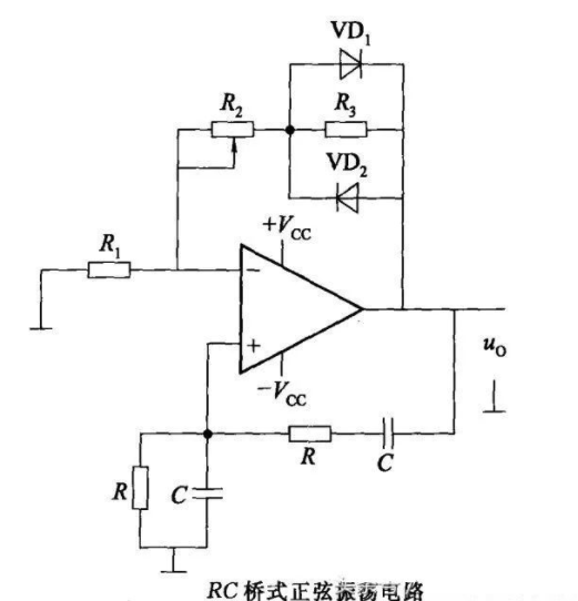
14 RC桥式正弦振荡电路


15 方波发生电路


16 方波和三角波发生电路


17 过零比较器电路



18 一般单限比较器



19 滞回比较器






20 窗口比较器



审核编辑:汤梓红
龙腾半导体SGT MOSFET LSGT085R018在智慧农业无