时间:2021-05-28 14:35
人气:
作者:admin
本应用笔记概述了利用MAX9000和一些无源元件实现单电源三角波振荡器的方法。该应用电路使用运算放大器,比较器和基准电压源作为有源构建块。选择MAX9000是因为它集成了这三个元件。
三角波形的线性度使三角波发生器可用于许多“扫频”电路和测试设备。例如,开关电源和感应电动机控制电路通常使用三角波振荡器作为脉宽调制器(PWM)电路的一部分。本文介绍了一种紧凑的三角波振荡器,它使用单个MAX9000 IC和一些无源元件。MAX9000系列器件集成了高速运算放大器,高速比较器和精密带隙基准。
电路说明

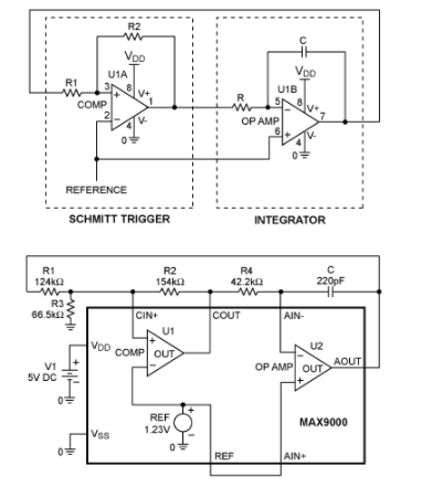
图1显示了一个基本的三角波发生器电路。¹它由两个基本构件组成:一个积分器,用于产生三角波输出;一个比较器,具有外部磁滞(施密特触发器),可以根据需要设置三角波的幅度。
运算放大器配置为积分器,以提供三角输出。这种方法基于一个简单的事实,即恒定电压的积分会导致线性斜坡。施密特触发器将积分器的输出反馈到其反相输入。施密特触发器的输入阈值电压设计为根据三角波输出的所需峰值电压更改状态。
图1中的电路有一个缺点:三角波的峰值只能关于施加到比较器反相输入的参考电压对称。为了产生一个从0.5V到4.5V的三角波,例如,需要一个(0.5V + 4.5V)/ 2 = 2.5V的参考电压。由于标准带隙基准的输出电压为1.23V,因此,最好将三角波的电压范围设定为与带隙基准无关的范围。这种灵活性是通过在滞后网络中增加电阻R3来实现的,如图2所示,该电路使用的是MAX9000。电阻器R3可以独立于参考电压来设置三角波的峰值。
编辑:hfy
下一篇:浅谈运算放大器电路中的增益调整
龙腾半导体SGT MOSFET LSGT085R018在智慧农业无