时间:2018-01-22 11:17
人气:
作者:admin
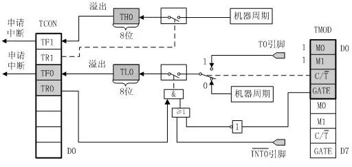
定时器/计数器的实质是加1计数器(16位),由高8位和低8位两个寄存器组成。TMOD是定时器/计数器的工作方式寄存器,确定工作方式和功能;TCON是控制寄存器,控制T0、T1的启动和停止及设置溢出标志。

定时器/计数器的工作原理
计数器输入的计数脉冲源
系统的时钟振荡器输出脉冲经12分频后产生;
T0或T1引脚输入的外部脉冲源。
计数过程
每来一个脉冲计数器加1,当加到计数器为全1(即FFFFH)时,再输入一个脉冲就使计数器回零,且计数器的溢出使TCON中TF0或TF1置1,向CPU发出中断请求(定时器/计数器中断允许时)。如果定时器/计数器工作于定时模式,则表示定时时间已到;如果工作于计数模式,则表示计数值已满。
定时应用
用作定时器:此时设置为定时器模式,加1计数器是对内部机器周期计数(1个机器周期等于12个振荡周期,即计数频率为晶振频率的1/12)。计数值N乘以机器周期Tcy就是定时时间t 。
计数运用
用作计数器:此时设置为计数器模式,外部事件计数脉冲由T0或T1引脚输入到计数器。每来一个外部脉冲,计数器加1。但单片机对外部脉冲有基本要求:脉冲的高低电平持续时间都必须大于1个机器周期。
工作方式寄存器(TMOD)

GATE:门控位。
GATE=0时,只要用软件使TCON中的TR0或TR1为1,就可以启动定时器/计数器工作;(即需要一个启动条件)
GATE=1时,要用软件使TR0或TR1为1,同时外部中断引脚也为高电平时,才能启动定时器/计数器工作,即需要两个启动条件。
C/T :定时/计数模式选择位。
C/T =0为定时模式; C/T =1为计数模式。
M1M0:工作方式设置位。
计数器工作方式选择
M1 M0 工 作 方 式 功 能 说 明
0 0 方式0 13位计数器
0 1 方式1 16位计数器
1 0 方式2 自动重装8位计数器
1 1 方式3 定时器0:分成两个8位
定时器1:停止计数
定时器/计数器的控制
控制寄存器TCON
TCON的低4位用于控制外部中断,已在前面介绍。TCON的高4位用于控制定时器/计数器的启动和中断申请。其格式如下:

TF1(TCON.7):T1溢出中断请求标志位。T1计数溢出时由硬件自动置TF1为1。CPU响应中断后TF1由硬件自动清0。TR1(TCON.6):T1起/停控制位。1:启动 0:停止
TF0(TCON.5):T0溢出中断请求标志位,其功能与TF1类同。
TR0(TCON.4):T0起/停控制位。1:启动 0:停止
定时器/计数器的工作方式
方式0
方式0为13位计数,由TL0的低5位(高3位未用)和TH0的8位组成TL0的低5位溢出时向TH0进位,TH0溢出时,置位TCON中的TF0标志,向CPU发出中断请求。

方式1
方式1的计数位数是16位,由TL0(TL1)作为低8位、TH0(TH1)作为高8位,组成了16位加1计数器 。
方式2
方式2为自动重装初值的8位计数方式。

在方式2下,当计数器计满255(FFH)溢出时,CPU自动把TH 的值装入TL中,不需用户干预。因此特别适合于用作较精确的脉冲信号发生器。
方式3

方式3只适用于定时器/计数器T0,定时器T1方式3时相当于TR1=0,停止计数。
工作方式3将T0分成为两个独立的8位计数器TL0和TH0 。
龙腾半导体SGT MOSFET LSGT085R018在智慧农业无