TPS6270x 器件是一款针对射频功率放大器 (PA) 应用进行了优化的高效同步降压直流/直流转换器。它通过单个锂离子电池提供高达 650 mA 的输出电流。
该器件将 2.5 V 至 6.0 V 的输入电压转换为由施加到引脚 VCON 的外部模拟参考电压设置的输出电压。在 1.3 V 至 3.09 V 的范围内,输出电压跟随外部基准 2.5 的内部增益。该方案调整了 DC/DC 转换器的输出电压,从而调整了 RF-PA 的输出功率。
*附件:tps62700.pdf
TPS6270x 以 2.0MHz 的开关频率在固定频率 PWM 模式下运行,以最大限度地减少射频干扰。该转换器仅需三个小型外部元件工作;输入电容器、电感器和输出电容器。TPS62701 还具有内置时钟抖动电路,以降低射频噪声。
TPS6270x 采用微型 8 引脚无铅 WCSP 封装,可实现最小的解决方案尺寸。
特性
- 高效降压转换器
- 输出电流高达 650 mA
- V
在范围:2.5 至 6.0 V - 2.0MHz 固定频率运行
- 时钟抖动 (TPS62701)
- 具有外部基准电压的动态电压控制(1.3 V 至 3.09 V)
- 快速输出电压建立时间(1.3 V 至 3.09 V,20 μs)
- 软启动
- 过载保护
- 欠压锁定
- 热保护
- 8 引脚 WCSP 封装
- 应用
参数

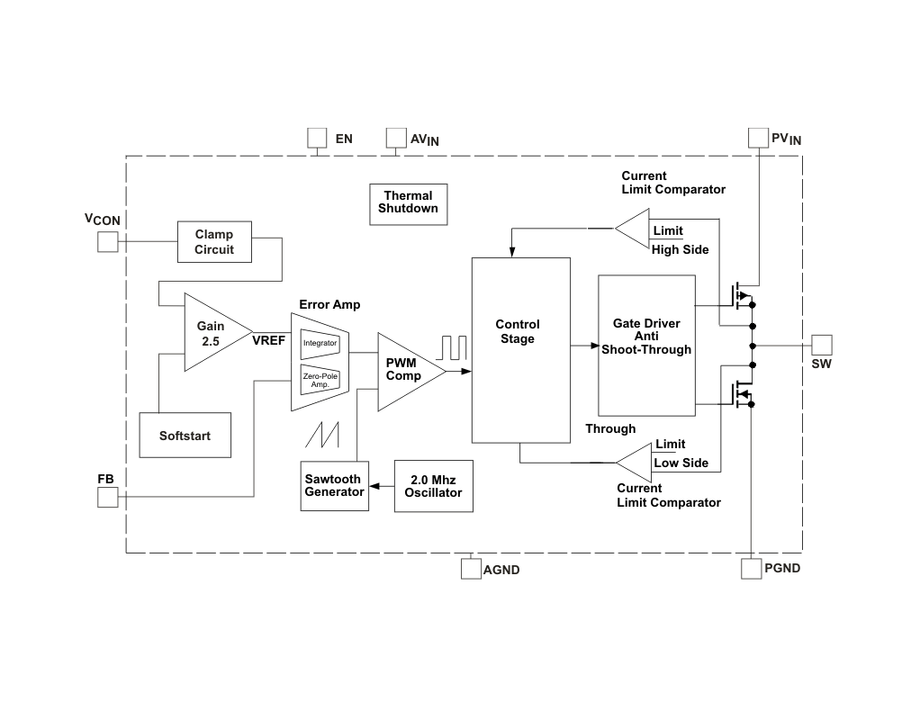
方框图

1. 产品概述
- 型号:TPS62700/TPS62701,高效同步降压DC-DC转换器,专为RF功率放大器(PA)优化设计。
- 关键特性:
- 输入电压范围:2.5V至6.0V,输出电流高达650mA。
- 固定开关频率2.0MHz(TPS62701支持时钟抖动以降低RF噪声)。
- 动态电压控制:通过外部参考电压(VCON引脚)调节输出电压(1.3V至3.09V),增益为2.5(VOUT = 2.5 × VCON)。
- 封装:8引脚WCSP(晶圆级芯片尺寸封装),适用于紧凑设计。
2. 核心功能
- 动态电压调整:通过VCON引脚实现快速输出电压切换(20µs内完成1.3V至3.09V转换)。
- 高效PWM模式:全负载范围内保持低输出纹波,支持100%占空比低压差操作。
- 保护机制:
- 过载/短路保护(峰值电流限制)。
- 热关断(150°C触发,20°C滞后恢复)。
- 欠压锁定(UVLO)。
3. 典型应用电路
- 外部元件:需配置输入电容(10µF)、电感(3.3µH)、输出电容(4.7µF/10µF)。
- 布局建议:
- 输入电容靠近PVIN/PGND引脚,电感与输出电容靠近SW/PGND。
- FB引脚直接连接输出电容,远离高频噪声路径。
4. 性能参数
- 效率:典型值87%(1.3V输出)至95%(3.09V输出),负载电流范围10mA-650mA。
- 纹波电压:PWM模式下≤10mVp-p(使用低ESR陶瓷电容)。
- 启动时间:190µs(从EN使能到输出稳定)。
5. 设计注意事项
- 电感选择:推荐低DCR(≤100mΩ)电感(如LPS4018、VLF3014AT)。
- 电容选择:X7R/X5R陶瓷电容(如Murata GRM188系列),避免Y5V/Z5U材质。
- 热管理:θJA为110°C/W(4层板),需根据环境温度降额使用。