L5983 是一款降压开关稳压器,具有 2.0 A(最小)限流嵌入式功率 MOSFET,因此能够向负载提供超过 1.5 A DC 的输出电流。
输入电压范围为 2.9 V 至 18 V,而输出电压可设置为 0.6 V 至 V 在 .该器件的最小输入电压为 2.9 V,也适用于 3.3 V 总线。
*附件:l5983.pdf
该器件只需最少的外部元件,包括一个内部 250 kHz 开关频率振荡器,可从外部调节至 1 MHz。
带有外露焊盘的 VFQFPN 封装可降低 RTHJA低至约 60 °C/W。
所有功能
- 1.5 A 直流输出电流
- 2.9 V 至 18 V 输入电压
- 输出电压可在 0.6 V 范围内调节
- 250 kHz 开关频率,可编程高达 1 MHz
- 内部软启动和抑制
- 低压差运行:100% 占空比
- 电压前馈
- 零负载电流作
- 过流和热保护
- VFQFPN8 3 x 3 mm 封装
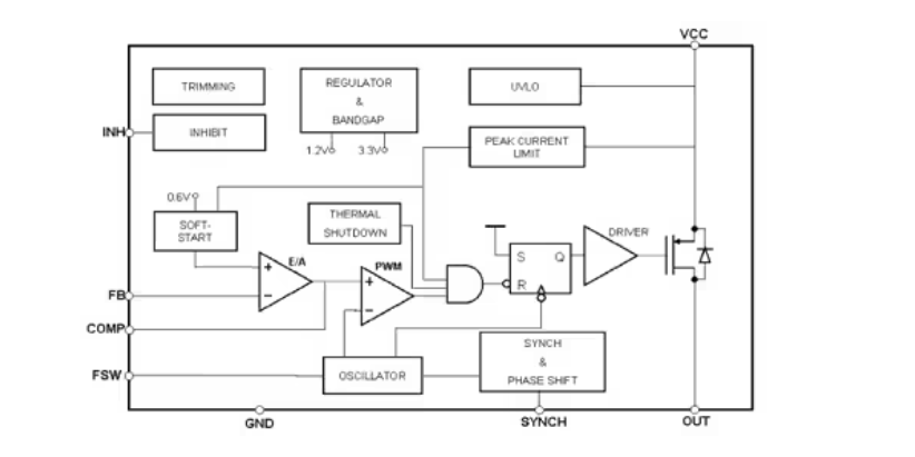
电路原理图

L5983 数据手册总结
产品概述
L5983是一款1.5A降压型开关稳压器,适用于多种电子设备,包括消费电子、工业设备、网络设备和计算机外设等。该器件具有高效的电源管理功能,能够提供稳定的输出电压。
主要特性
- 输出电流:1.5A DC(最大可达2A)
- 输入电压范围:2.9V至18V
- 输出电压可调范围:0.6V至VIN
- 开关频率:250kHz(可编程至1MHz)
- 保护功能:过流保护、热保护、软启动、抑制功能
- 封装:VFQFPN8 3x3mm
功能描述
- 电压控制和同步
- 采用电压模式控制,通过内部振荡器产生固定频率的锯齿波,与外部反馈信号比较以控制功率开关的通断。
- 支持主从同步功能,可通过SYNCH引脚实现多个L5983设备的相位同步。
- 软启动
- 内置软启动电路,限制启动时的浪涌电流,保护电路免受损坏。
- 软启动时间可通过外部电容调整。
- 误差放大器和补偿
- 误差放大器用于比较反馈电压与内部参考电压,产生误差信号。
- 提供外部补偿引脚,可根据应用需求选择合适的补偿网络以稳定系统。
- 过流保护
- 具有过流保护功能,当输出电流超过设定阈值时,自动关闭功率开关以防止损坏。
- 过流保护后,设备将进入重启周期,尝试恢复正常工作。
- 抑制功能
- INH引脚可用于使设备进入低功耗待机模式,降低功耗。
- 热保护
- 内置热保护电路,当结温超过设定阈值时自动关闭功率开关以防止热失控。
应用信息
- 输入电容选择:需考虑最大RMS输入电流和ESR值,以满足效率和热性能要求。
- 电感选择:根据输出电流和纹波要求选择合适的电感值。
- 输出电容选择:需考虑电压纹波、ESR值和负载瞬态响应要求。
- 补偿网络设计:根据输出电容的ESR值选择合适的补偿网络类型(II型或III型),以确保系统稳定性。
- 布局考虑:合理的PCB布局对减少噪声和干扰至关重要,特别是输入环路和反馈引脚的布局。
封装与订购信息
- 封装:采用VFQFPN8 3x3mm封装,具有裸露焊盘以降低热阻。
- 订购代码:L5983TR,以卷带形式提供。