时间:2025-03-10 10:00
人气:
作者:admin
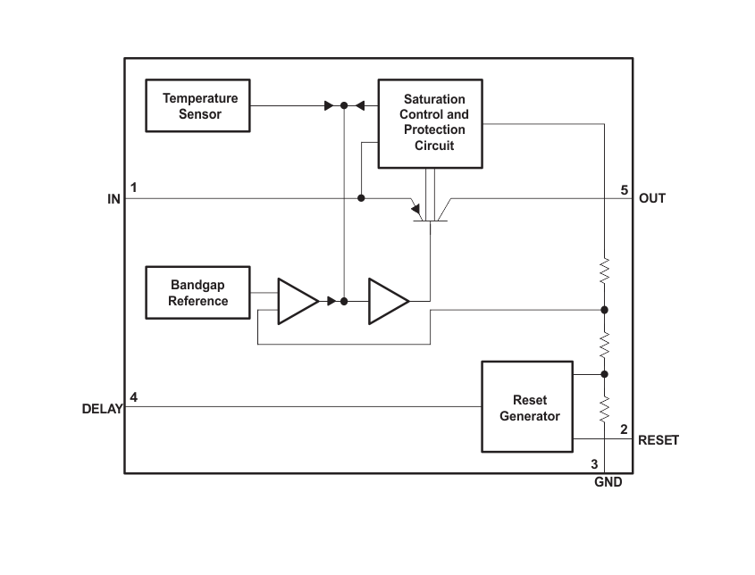
TLE4275 是一款单片集成低压差稳压器,采用 5 引脚封装 TO 包。该器件可将高达 45 V 的输入电压调节至 V 外 = 5 V(典型值)。该器件可驱动高达 450 mA 的负载,并且 短路保护。在过热时,集成的温度保护会关闭 TLE4275。该器件为输出电压 V 生成复位信号 出,rt , 4.65 V(典型值)。通过使用外部延迟电容器,可以对复位延迟进行编程 时间。
输入电容器 C 在 ,补偿线路波动。用 一个大约 1 Ω 的电阻器,与 C 串联在抑制振荡 输入电感和输入电容。输出电容器 C 外 , 稳定调节电路。稳定性的规格为 C外在工作温度范围内,≥ 22 μF 和 ESR ≤ 5 Ω。 电解电容器的稳定性具体为 C 外 ≥ 68 μF 以内 工作温度范围。请参阅有关低温稳定性的应用报告, SLVA501,了解更多详情。
*附件:TLE4275-Q1 5V 低压差稳压器 数据表.pdf
控制放大器将参考电压与 输出电压,并通过缓冲器驱动串联晶体管的基极。饱和 作为负载电流函数的控制可防止功率元件的任何过度饱和。这 该器件还集成了许多内部电路,用于防止 :过载 、过热和 反极性 。
特性
参数

特性

TLE4275-Q1是一款适用于汽车应用的5V低压差(LDO)稳压器,提供低电流消耗、短路保护和反向极性保护等功能。该器件采用5引脚TO封装,能够驱动高达450mA的负载,并具备过温保护功能。
TLE4275-Q1提供多种封装选项,包括TO-263、TO-252和HTSSOP封装,具体尺寸和引脚布局请参考数据表中的封装信息部分。