时间:2023-08-21 10:07
人气:
作者:admin
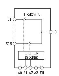
CBMG706和CBMG707是低压CMOS模拟多路复用器,分别包括16个单端通道和8个差分通道。CBMG706将16路输入(S1–S16)中的一个切换到公共输出D,由4位二进制地址线A0、A1、A2和A3确定。CBMG707将八路差分输入中的一个切换到由3位二进制地址线A0、A1和A2确定的公共差分输出。两款器件均提供EN输入,用来使能或禁用器件。禁用时,所有通道均关断。
1.8V至5.5V单电源供电和低功耗特性使CBMG706和CBMG707成为电池供电便携式仪器的理想选择。 所有通道均采用先开后合式开关,防止在切换通道时出现瞬时短路。这些设备还设计为在±2.5V的双电源下运行。
这些多路复用器是在CMOS工艺上设计,该工艺提供低功耗,高开关速度、非常低的导通电阻和漏电流等特性。导通电阻在几欧姆的范围内,开关之间严格匹配,并且在整个信号范围内,导通电阻曲线非常平坦。这些器件可用作多路复用器或解复用器,具有出色的性能,并且具有扩展到电源的输入信号范围。CBMG706和CBMG707均采用TSSOP28封装。
功能框图
CBMG706_CBMG707功能框图及真值表如下:

图1. 功能框图
表1. CBMG706真值表

表2. CBMG707真值表

注:X=不判断。
典型特征
单电源 :1.8 V to 5.5 V
双电源 :±2.5 V
导通电阻:2.5Ω
导通电阻平坦度 :0.5Ω
漏电流 :100pA
开关时间 :40ns
CBMG708 : 单通道16:1多路复用器
CBMG709 :差分8:1多路复用器
TSSOP28封装
低功耗
TTL/CMOS兼容性输入
产品应用
数据采集系统
通讯系统
继电器
音视频开关
电池供电系统
典型电气特性图
CBMG706_CBMG707主要参数特性图如下:


图2.单电源下的导通电阻与VD(VS)的关系
审核编辑:刘清
上一篇:国内隔膜设备需求超500亿元