时间:2023-04-06 15:48
人气:
作者:admin
应急管理部消防救援局统计,在造成电气火灾事故的原因中,最为主要的当为末端线路短路,在电气火灾事故中占比高达70%以上。如何效预防末端线路短路引发的电气火灾事故?
现阶段最为常见的短路保护产品为断路器和熔断器。220V末端用电回路中,由于安装有断路器和熔断器,如果发生短路故障,将通过断路器电磁脱扣或熔断器熔断的方式进行保护,分断短路电流速度为ms级。而短路电流很大,短路点能量的迅速聚集会产生电弧火花,在易燃易爆或部分重要供电的场合存在安全隐患。
《GB51348-2019民用建筑电气设计标准》以及多个地方标准中提到,需要在重要负荷、危险场所、电动车充电等场合使用限流式保护器。

断路器、熔断器和限流式保护器三者功能对比:

下面对断路器、熔断器和限流式保护器的短路保护原理和动作时间进行分别说明。
断路器

当线路发生一般性过载时,过载电流虽不能使电磁脱扣器动作,但能使热元件产生一定热量,促使双金属片受热向上弯曲,推动杠杆使搭钩与锁扣脱开,将主触头分断,切断电源。
当线路发生短路或严重过载电流时,短路电流超过瞬时脱扣整定电流值,电磁脱扣器产生足够大的吸力,将衔铁吸合并撞击杠杆,使搭钩绕转轴座向上转动与锁扣脱开,锁扣在反力弹簧的作用下将三幅主触头分断,切断电源。
空气开关开的动作曲线如下:

过载跳闸的响应时间在秒级,短路保护的门限值一般是3In或者5In,响应时间在10ms~20ms之间。
熔断器

当电路发生故障或异常时,保险丝就会在电流异常升高到一定的高度和一定的时间之后,自身熔断切断电流,从而起到保护电路安全运行的作用。
常规使用的熔断式保险丝的时间特性曲线如下图:

可以看出保险丝的熔断时间是和瞬时短路电流大小的平方正相关,空气开关的动作时间相对线性,因此熔断器动作时间在某一电流值下是比空气开关反应慢;在某电流值以后,动作时间比空气开关反应快,整体动作时间为ms级。
限流式保护器
下图为一种电气防火限流式保护器的结构示意图。

图1
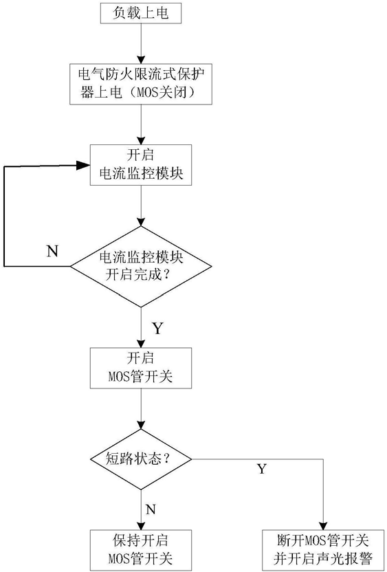
电气防火限流式保护器,包括:交流电源10、电流监控模块20、开关模块30以及负载40。其中,交流电源10为市电网络,用于给各电路和负载40供电;负载40为用电设备;电流监控模块20,用于对流经负载40的电流进行监控以防止短路引起事故;开关模块30为MOS管或其它形式的可控开关,用于在所述电流监控模块20监测到流经负载40的电流过大时断开供电电流通路。 电气防火限流式保护器的安全启动过程的步骤流程

电流监控模块主要由霍尔电流传感器电路来实现


CH704 是专为大电流检测应用开发的隔离集成式电流传感芯片。CH704 内置 0.1mΩ 的初级导体电阻,有效降低芯片发热支持大电流检测:±50A, ±100A, ±150A, ±200A。其内部集成独特的温度补偿电路以实现芯片在 -40 到150°C全温范围内良好的一致性。出厂前芯片已做好灵敏度和静态(零电流)输出电压的校准,在全温度范围内提供 ±2% 的典型准确性。
产品参数如下:
• 隔离电压:4800VRMS
• AEC-Q100 汽车认证 (CH704A)
• 电源:4.5-5.5V
• 输出电压与电流成正比:+/-50A,+/-100A,+/-150A,+/-200A
• 带宽:120kHz
• 响应时间:2us
• 宽温度范围:-40°C 至 150°C
• 使用 EEPROM 进行高分辨率偏移和灵敏度调整
• 导线电阻:0.1 mΩ
• 集成数字温度补偿电路
• 几乎为零的磁滞
• 电源电压的比例输出
• 抗外部磁场
220V末端用电回路中,由于安装有断路器和熔断器,如果发生短路故障,将通过断路器电磁脱扣或熔断器熔断的方式进行保护,分断短路电流速度为ms级。
而短路电流很大,短路点短路能量的迅速聚集会产生电弧火花,在易燃易爆或部分重要供电的场合存在安全隐患,应安装限流式保护器。
编辑:黄飞
上一篇:干电池漏液分析