时间:2023-03-31 11:15
人气:
作者:admin
由于内部断路器延迟和有限的MOS栅极下拉电流,许多热插拔控制器在短路输出后的前10μs至50μs内不限制电流。结果可能是几百安培的短暂流量。一个简单的外部电路通过最小化初始电流尖峰并在200ns至500ns内终止短路来解决这个问题。
典型的+12V、6A、热插拔控制器电路(图1)包含(与许多其他电路一样)慢速和快速比较器,跳变门限为50mV和200mV。对于过载情况,6mΩ 检测电阻 (RS) 允许标称慢比较器跳闸 (8.3A) 和快速比较器跳闸 (33.3A) 用于短路。

图1.典型的热插拔控制器电路表现出峰值为30A的400ms短路电流脉冲。
初始短路电流尖峰仅受电路电阻¹的限制,该周期包括快速比较器延迟和通过放电M30的栅极电容完成短路中断所需的1μs。短路期间记录的波形表明峰值电流为400A(由于Rs两端为2.4Vpk),在100μs内降至28A。
通过添加达林顿 pnp 晶体管 (Q0) 来加速栅极放电,短路电流持续时间可以限制在 ≤ 5.1ms(图 2)。D1允许栅极在导通时正常充电,但在关断时,控制器的3mA栅极放电电流被引导至Q1的基极。然后,Q1在100ns≤快速放电栅极。因此,短路的高电流部分被限制在略高于快速比较器的350ns延迟时间。

图2.增加Q1会增加栅极下拉电流,将短路电流持续时间限制在0.5ms以下。
图2和图3波形中的表观反向过冲电流和急剧上升是由检测电阻芯片中的寄生串联电感产生的,图3所示的前前沿振荡是由示波器接地引线引入的伪影。

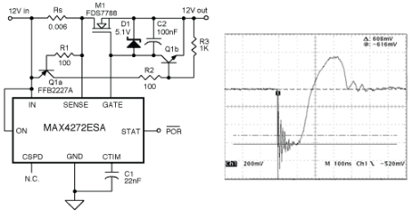
图3.热插拔控制器,可快速限制短路电流峰值和短路波形。
图3所示电路可以将短路电流限制在≈100A,持续<200ns。当RS两端的电压达到≈1mV时触发pnp晶体管Q600a,驱动npn晶体管Q1b快速放电M1的栅极电容。陡峭的电压波形有助于pnp晶体管的快速触发,而陡峭的电压波形又是检测电阻中寄生电感的结果。
C2连接在M1的栅极和源极之间,以降低短路期间施加在栅极上的正瞬态阶跃电压。齐纳二极管D1降低ID(开)通过限制 V一般事务人员低于MAX7提供的4272V电压。虽然D1在5mA偏置时的额定电压为1.5V,但它限制了V一般事务人员本电路中≈3.4V,因为IC仅提供100mA的栅极充电电流(齐纳偏置电流)。限量V一般事务人员降低 ID(开)—以 R 为代价D(开)—并允许更快地关闭 M1。D1和C2也可以用于图1和图2中的一些优势,以减少ID(开)短路期间。
上述两个电路中的任何一个都可以通过最小化热插拔控制电路短路时的能量耗散来保护背板电源。较简单的电路(图2)将短路电流间隔大幅缩短至略小于500ns,稍复杂的电路(图3)将峰值短路电流降低至100A,并将脉冲宽度截断至200ns以下。这两种技术都可以应用于大多数热插拔控制器电路。根据电源的阻抗、短路的阻抗以及(尤其是)短路本身的质量和起音时间,各个结果都有所不同。
审核编辑:郭婷
上一篇:纳米波纹石墨烯成为强大的催化剂
下一篇:电力线瞬变串联保护