时间:2023-07-12 10:51
人气:
作者:admin
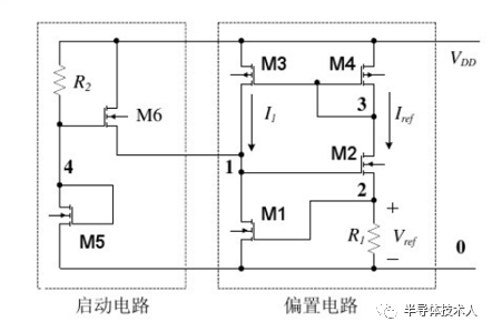
1、指标:VDD=5V,Vref=1.29V,Iref=10μA

2、偏置电路

DC ANALYSIS - temperature=25.0
v(1) = 4.9999e+000
v(2) = 7.9571e-002
v(3) = 7.0477e-001
v(4) = 4.7850e+000
v(Vdd) = 5.0000e+000
i(vvdd) = -5.8906e-003
(1)当R1=93K时,IREF=10μA,VREF=0.943V。随着R1增大,VREF先增大,再减小,最后几乎保持不变。随着R1增大,IREF随之减小。

(2)当R1=93K,R2=1K时,IREF=10μA,VREF=0.943V。随着R2增大,VREF和IREF随之减小,后几乎保持不变。

(3)当R1=50K,R2=1K时,IREF=19μA,VREF=0.943V。随着R2增大,VREF和IREF随之减小,后几乎保持不变。

(4)当R1=10K,R2=2K时,IREF=125μA,VREF=1.25V。随着R2增大,VREF和IREF随之减小,后几乎保持不变。

(5)当R1=90K,R2=2K时,W5=3.93u,IREF=13.82μA,VREF=1.25V。随着W5增大,VREF和IREF随之减小,后几乎保持不变。

(6)当R1=90K,R2=2K,W5=4u,W6=21.96u时,,IREF=13.91μA,VREF=1.25V。随着W6增大,VREF和IREF随之增大,后几乎保持不变。

(7)当R1=90K,R2=2K,W5=4u,W6=22u,W3=2u时,,IREF=13.91μA,VREF=1.25V。随着W3增大,VREF和IREF随之增大,但增大的幅度较小。

(8)当R1=90K,R2=2K,W5=4u,W6=22u,W3=2u,W4=2u时,IREF=13.91μA,VREF=1.25V。随着W4增大,VREF和IREF几乎不变。

(9)当R1=90K,R2=2K,W5=4u,W6=22u,W3=2u,W4=2u,W1=20.23u时,IREF=14.03μA,VREF=1.25V。随着W1增大,VREF和IREF随之减小。

(10)当R1=90K,R2=2K,W5=4u,W6=22u,W3=2u,W4=2u,W1=20u,W2=23u时,IREF=14.01μA,VREF=1.25V。随着W1增大,VREF和IREF随之增大。

(11)load1=90k load2=2k w1=20u w2=23u w3=2u w4=2u w5=4u w6=22u
v(1) = 2.3573e+000
v(2) = 1.2611e+000
v(3) = 3.2603e+000
v(4) = 3.9502e+000
v(Vdd) = 5.0000e+000
i(vvdd) = -6.5955e-004
v(2) = 1.2611e+000
i(M2,3) = 1.4013e-005
(12)load1=90k load2=2k w1=30u w2=23u w3=2u w4=2u w5=4u w6=22u
DC ANALYSIS - temperature=25.0
v(1) = 2.2864e+000
v(2) = 1.2052e+000
v(3) = 3.2854e+000
v(4) = 3.9502e+000
v(Vdd) = 5.0000e+000
i(vvdd) = -6.9046e-004
v(2) = 1.2052e+000
i(M2,3) = 1.3391e-005
(13)load1=90k load2=5k w1=30u w2=23u w3=2u w4=2u w5=4u w6=22u
DC ANALYSIS - temperature=25.0
v(1) = 1.9498e+000
v(2) = 9.4318e-001
v(3) = 3.4113e+000
v(4) = 3.2718e+000
v(Vdd) = 5.0000e+000
i(vvdd) = -4.0720e-004
v(2) = 9.4318e-001
i(M2,3) = 1.0480e-005
(14)load1=100k load2=5k w1=30u w2=23u w3=2u w4=2u w5=4u w6=22u
DC ANALYSIS - temperature=25.0
v(1) = 1.9433e+000
v(2) = 9.4569e-001
v(3) = 3.4596e+000
v(4) = 3.2718e+000
v(Vdd) = 5.0000e+000
i(vvdd) = -4.0685e-004
v(2) = 9.4569e-001
i(M2,3) = 9.4569e-006
(15)load1=100k load2=5k w1=20u w2=23u w3=2u w4=2u w5=4u w6=22u
DC ANALYSIS - temperature=25.0
v(1) = 1.9868e+000
v(2) = 9.7933e-001
v(3) = 3.4434e+000
v(4) = 3.2718e+000
v(Vdd) = 5.0000e+000
i(vvdd) = -3.9657e-004
v(2) = 9.7933e-001
i(M2,3) = 9.7933e-006
(16)load1=100k load2=5k w1=10u w2=23u w3=2u w4=2u w5=4u w6=22u
DC ANALYSIS - temperature=25.0
v(1) = 2.0607e+000
v(2) = 1.0367e+000
v(3) = 3.4165e+000
v(4) = 3.2718e+000
v(Vdd) = 5.0000e+000
i(vvdd) = -3.8293e-004
v(2) = 1.0367e+000
i(M2,3) = 1.0367e-005
(17)load1=100k load2=5k w1=10u w2=23u w3=2u w4=2u w5=2u w6=22u
DC ANALYSIS - temperature=25.0
v(1) = 2.3736e+000
v(2) = 1.2831e+000
v(3) = 3.3084e+000
v(4) = 3.7959e+000
v(Vdd) = 5.0000e+000
i(vvdd) = -3.1792e-004
v(2) = 1.2831e+000
i(M2,3) = 1.2831e-005
(18)load1=110k load2=5k w1=10u w2=23u w3=2u w4=2u w5=2u w6=22u
DC ANALYSIS - temperature=25.0
v(1) = 2.3679e+000
v(2) = 1.2864e+000
v(3) = 3.3568e+000
v(4) = 3.7959e+000
v(Vdd) = 5.0000e+000
i(vvdd) = -3.1735e-004
v(2) = 1.2864e+000
i(M2,3) = 1.1694e-005
(19)load1=120k load2=5k w1=10u w2=23u w3=2u w4=2u w5=2u w6=22u
DC ANALYSIS - temperature=25.0
v(1) = 2.3630e+000
v(2) = 1.2893e+000
v(3) = 3.3992e+000
v(4) = 3.7959e+000
v(Vdd) = 5.0000e+000
i(vvdd) = -3.1691e-004
v(2) = 1.2893e+000
i(M2,3) = 1.0744e-005
(20)load1=125k load2=5k w1=10u w2=23u w3=2u w4=2u w5=2u w6=22u
DC ANALYSIS - temperature=25.0
v(1) = 2.3608e+000
v(2) = 1.2907e+000
v(3) = 3.4184e+000
v(4) = 3.7959e+000
v(Vdd) = 5.0000e+000
i(vvdd) = -3.1674e-004
v(2) = 1.2907e+000
i(M2,3) = 1.0325e-005
(21)load1=130k load2=5k w1=10u w2=23u w3=2u w4=2u w5=2u w6=22u
DC ANALYSIS - temperature=25.0
v(1) = 2.3588e+000
v(2) = 1.2920e+000
v(3) = 3.4366e+000
v(4) = 3.7959e+000
v(Vdd) = 5.0000e+000
i(vvdd) = -3.1658e-004
v(2) = 1.2920e+000
i(M2,3) = 9.9382e-006
(22)oad1=125k load2=5k w1=10u w2=23u w3=2u w4=2u w5=2u w6=22u
TEMP=-55℃~125℃
VREF=1.12V~1.47V
IREF=8.97μA~11.87μA

(23)load1=125k load2=5k w1=10u w2=23u w3=2u w4=2u w5=2u w6=22u
电源电压波动范围=4.0~6.0V
VREF=0.983V~1.59V
IREF=7.86μA~12.66μA
