时间:2023-02-08 15:28
人气:
作者:admin
超声波成像是一种应用广泛的医疗设备,临床常用的超声频率在2~15MHZ之间,精度水平为毫米,近年来,超声成像技术不断发展,如灰阶显示和彩色显示、三维成像、体腔内超声成像等。这些超声成像在医学上的应用给病情诊断及治疗方面带来了极大的方便。
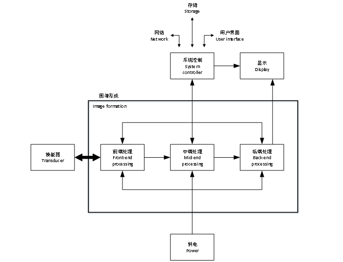
无论是高端的医疗超声诊断设备,还是小型化的便携式超声成像系统,其硬件模块的基本构成是相似的,主要包括:换能器模块、供电模块、成像与图像处理模块、系统控制模块和显示模块等,如图所示:

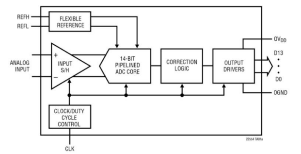
便携式超声波系统中,从信号通路的前端、中端到后端的处理,功耗是一个关键的考虑因素。低功耗意味着更低的电池电量可提供更长的运行时间。地芯科技GAD2245是14位10MSPS、低功耗3V单电源供电的模数转换器,用于数字化高频、宽动态范围信号。单电源 3V 供电支持低功耗运行,独立输出电源支持输出驱动0.5V至3.3V。
超声波变送器的接收信号量级可能会在10uVPP1VPP之间变化。能够探测到的信号越小,系统的灵敏度也就越高。输入等效电流和输入等效电压噪声都会影响系统灵敏度。GAD2245 非常适合要求高的成像和通信应用,其交流性能包括73dB的信噪比(SNR)和88dB的奈奎斯特域的无杂散动态范围(SFDR)。直流性能包括±1LSB INL(典型值)、±0.5LSB DNL(典型值) 和全温度范围无丢失码,转换噪声低至1.3LSBRMS。

GAD2245功能框图
地芯科技GAD2245主要性能:
•低功耗:60mW;
•采样率:10MSPS;
•单电源 3V 供电(2.85V 至3.4V);
•575MHz 全功率带宽;
•时钟占空比稳定器;
•关机和 NAP 模式;
注:如涉及作品版权问题,请联系删除。