全球最实用的IT互联网站!
人工智能P2P分享搜索全网发布信息网站地图标签大全
嵌入式技术之GPIO控制LED工作原理
阅读全文2020-09-24
Linux中的物理内存的具体分配情况
阅读全文2020-09-23
立功科技推出AWorksOS下一代嵌入式软件开发平台
阅读全文2020-09-22
Linux内核的同步机制
嵌入式C语言源代码优化方案(非编译器优化)
阅读全文2020-09-21
如何使用KeilMDK以及标准外设库创建STM32工程
linux内核主流的内存压缩技术介绍
阅读全文2020-09-18
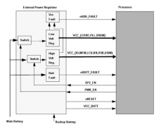
嵌入式操作系统PXA270电源电路设计
阅读全文2020-09-16
德州仪器以工业派和TI-RSLK专家版硬核智能平台和
Linux文件系统解析
51单片机与stm32单片机,先学习哪一个?
新一代嵌入式开发平台 AMD嵌入式软件和工
睿擎派配件上新!4.3寸/7寸MIPI屏、UVC摄像
使用恩智浦FRDM-MCXN947开发板移植触摸屏
CPU | 内存 | 硬盘 | 显卡 | 显示器 | 主板 | 电源 | 键鼠 | 网站地图
Copyright © 2025-2035 诺佳网 版权所有 备案号:赣ICP备2025066733号 本站资料均来源互联网收集整理,作品版权归作者所有,如果侵犯了您的版权,请跟我们联系。