时间:2025-04-18 14:46
人气:
作者:admin
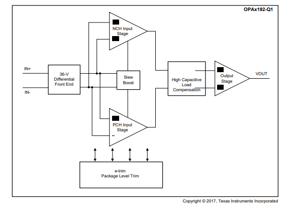
OPAx192-Q1系列(OPA192-Q1和OPA2192-Q1)是新一代36-V e-trim运算放大器。OPAx192-Q1系列运算放大器使用e-trim,这是一种封装级微调方法,用于在塑料成型工艺后的最后制造步骤中实现偏移和偏移温度漂移。这种方法最大限度地减少了固有输入晶体管失配的影响,以及封装成型过程中引起的误差。
数据手册:*附件:OPA2192-Q1 采用电子修整技术的汽车类、36V、精密、RRIO、低失调电压、低输入偏置电流运算放大器技术手册.pdf
这些器件具有出色的直流精度和交流性能,包括轨对轨输入/输出、低偏移(典型值为±5µV)、低偏移漂移(典型值±0.2µV/°C)和10 MHz带宽。
独特的功能,如电源轨的差分输入电压范围、高输出电流(±65 mA)、高达1 nF的高电容性负载驱动和高转换速率(20 V/µs),使OPAx192-Q1成为高压工业应用中坚固、高性能的运算放大器。
OPAx192-Q1系列运算放大器采用8针VSSOP封装,温度范围为-40°C至+125°C。
特征
•具备汽车应用资格
•AEC-Q100合格,结果如下:
–设备温度等级1:-40°C至
+125°C环境工作温度
–器件HBM ESD分类等级3A
–设备CDM ESD分类级别4A
•低偏移电压:±5µV
•低偏移电压漂移:±0.2µV/°C
•低噪声:1 kHz时为5.5 nV/√Hz
•高共模抑制:140 dB
•低偏置电流:±5 pA
•轨对轨输入和输出
•宽带:10 MHz GBW
•高转换速率:20 V/µs
•低静态电流:每个放大器1mA
•宽电源:±2.25 V至±18 V,4.5 V至36 V
•EMI/RFI滤波输入
•电源轨的差分输入电压范围
•高电容负载驱动能力:1 nF
•行业标准包装:
–VSSOP-8中的单通道和双通道
引脚功能和配置
典型特性
功能方框图
应用
•汽车电机控制
•牵引逆变器
•车载充电器
•精密电流传感
龙腾半导体SGT MOSFET LSGT085R018在智慧农业无