时间:2025-04-15 17:43
人气:
作者:admin
OPAx990 系列(OPA990、OPA2990 和 OPA4990)是高电压 (40V) 通用运算放大器系列。这些器件具有出色的直流精度和交流性能,包括轨至轨输入/输出、低失调电压(典型值为 ±300µV)和低温漂(典型值为 ±0.6µV/°C)。
数据手册:*附件:OPA2990 双路、40V、1.1MHz、低功耗运算放大器技术手册.pdf
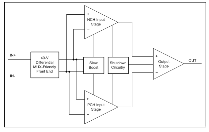
OPAx990 具有诸如电源轨的差分和共模输入电压范围、高短路电流 (±80mA)、高压摆率 (4.5/µs) 和关断等独特的功能,是一款极其灵活、稳定且高性能的运算放大器,适用于各种高电压工业应用。
OPAx990 运算放大器系列采用微型 封装(例如 X2QFN、WSON 和 SOT-553)以及标准封装(例如 SOT-23、SOIC 和 TSSOP),额定工作温度范围为 –40°C 至 125°C。
特性
• 低失调电压:±300µV
• 低失调电压漂移:±0.6µV/°C
• 低噪声:1 kHz 时为 30nV/√Hz
• 高共模抑制:115dB
• 低偏置电流:±10pA
• 轨至轨输入和输出
• 支持多路复用器/比较器的输入
– 放大器以最高达到电源轨的差分输入工作
– 放大器可用于开环中,也可用作比较器
• 高带宽:1.1MHz GBW
• 高压摆率:4.5V/µs
• 低静态电流:每个放大器 120µA
• 宽电源电压:±1.35V 至 ±20V,2.7V 至 40V
• 强大的 EMIRR 性能:1.8 GHz 时为 78dB
• 电源轨的差分和共模输入电压范围
引脚功能和配置
典型特性
功能框图
应用
• 多路复用数据采集系统
• 测试和测量设备
• 电机驱动:功率级和控制模块
• 电力输送:UPS、服务器和商用网络电源
• ADC 驱动器和基准缓冲放大器
• 可编程逻辑控制器
• 模拟输入和输出模块
• 高侧和低侧电流检测
• 高精度比较器
龙腾半导体SGT MOSFET LSGT085R018在智慧农业无