时间:2025-04-03 10:50
人气:
作者:admin
OPAx991-Q1 系列(OPA991-Q1、OPA2991-Q1 和 OPA4991-Q1)是面向汽车应用的高电压 (40V) 通用运算放大器系列。这些器件具有出色的直流精度和交流性能,包括轨到轨输入或输出、低失调电压(典型值为 ±125µV)、低温漂(典型值为 ±0.3µV/°C)、低噪声(10.8nV/√Hz 和 1.8µVPP)和 4.5MHz 带宽。
数据手册:*附件:OPA4991-Q1 汽车类四路、40V、4.5MHz、低功耗运算放大器技术手册.pdf
OPAx991-Q1 具有独特功能,例如电源轨的差分和共模输入电压范围、高输出电流 (±75mA)、高压摆率 (21V/µs) 和高容性负载驱动 (1nF),是一款稳定可靠的高性能运算放大器,适用于高电压汽车应用。
OPAx991-Q1 系列运算放大器采用标准封装(如 SOT-23、SC70、SOIC、VSSOP 和 TSSOP),其额定工作温度范围为 –40°C 至 125°C。
引脚功能和配置
典型特性
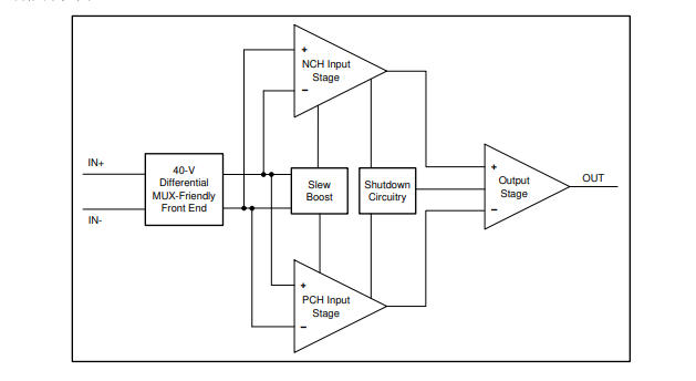
功能方框图
特性
• 符合面向汽车应用的 AEC-Q100 标准
– 温度等级 1:–40°C 至 +125°C,TA
– 器件 HBM ESD 分类等级 2A
– 器件 CDM ESD 分类等级 C6
• 低失调电压:±125µV
• 低失调电压漂移:±0.3µV/°C
• 低噪声:1kHz 时为 10.8nV/√Hz
• 高共模抑制:130dB
• 低偏置电流:±10pA
• 轨至轨输入和输出
• 高带宽:4.5MHz GBW
• 高压摆率:21V/µs
• 高容性负载驱动:1nF
• 支持多路复用器/比较器输入
– 放大器以最高达到电源轨的差分输入工作
– 放大器可用于开环中,也可用作比较器
• 低静态电流:每个放大器 560µA
• 宽电源电压:±1.35V 至 ±20V,2.7V 至 40V
• 强大的 EMIRR 性能
典型应用
图 7-1 展示了低侧电流检测应用中配置的 OPAx991-Q1。有关图 7-1 中所示电路的全面分析,包括理论、计算、模拟和测量数据,请参阅 TI 精密设计 TIPD129 0A 至 1A 单电源低侧电流检测解决方案。
应用
• 针对 AEC-Q100 1 级应用进行了优化
• 信息娱乐系统与仪表组
• 被动安全
• 车身电子装置和照明
• 混合动力汽车/电动汽车逆变器和电机控制
• 车载充电器 (OBC) 和无线充电器
• 动力总成电流传感器
• 高级驾驶辅助系统 (ADAS)
• 高侧电流感应
龙腾半导体SGT MOSFET LSGT085R018在智慧农业无