时间:2020-09-01 15:16
人气:
作者:admin
电路功能和优点
Circuit Function & Benefits
可编程逻辑控制器(PLC)和分布式控制系统(DCS)用于监测和控制工业自动化应用中的智能(支持HART)和模拟现场仪表。
图1所示的电路是一个简单的DCS系统,由一个主机和一个节点组成,其中有两个4通道隔离模拟输入板和两个4通道隔离模拟输出板,由一个Arduino形状因子基板本地控制。RS-485收发器与PC机或其他主机接口,用户可从中使用Modbus协议与节点交换数据。

图1. PLC(或单节点DCS)Modbus系统功能框图
模拟输入数据在本地读取,并通过使用行业标准Modbus协议的串行接口提供,确保数据完整性和与一系列软件应用程序和库的兼容性。类似地,通过写入Modbus寄存器来设置模拟输出,然后将其转换为模拟电压或电流信号。
每个节点最多可以有四个模拟输入和输出板的任意组合。如图2所示,可以使用提供的硬件和软件基础设施设计多达16个节点的多节点系统。该电路支持点对点HART通信,可扩展到多点HART网络,由同一通道上的多个HART设备组成。

图2. 多节点DCS-Modbus系统功能框图
模拟输入和模拟输出均为每板电隔离(四组),模拟输入具有开路检测功能,简化了故障检测和诊断。这些特性增强了在苛刻的工业自动化环境中工作时的健壮性。
电路说明
该应用程序着重于演示由Modbus主机控制的PLC/DCS系统的开发,并举例说明如何使用关键组件的最新功能。单节点系统通常称为PLC,而较大的系统通常称为DCS。
每个节点可以控制多达16个模拟现场设备、传感器或执行器,可以与HART兼容,也可以仅与模拟设备兼容,并且系统可以扩展到包括多达16个单独节点。该系统还可用于一般用途的精密模拟数据采集应用,如仪表、模拟数据记录或测试和测量。
PLC/DCS技术
支持多个连接技术。在单节点(PLC或单节点DCS)系统中,主机可以通过微型USB电缆直接连接到EVAL-ADICUP3029平台板上的USB串行端口,适用于主机和节点之间距离小于2米的实验室测试和测量应用。
在这种点对点的技术结构中,每个电路板有四组模拟输入和输出仍然与主机隔离。虽然通常与实验室设备无关,但Modbus协议为与节点通信提供了一种方便和标准的方法。哈特连接允许配置智能传感器和执行器。
当主机和节点之间的距离超过2米时,信号完整性、噪声拾取和电气故障成为更大的问题。在这些情况下,EVAL-CN0416-ARDZ提供到主机的可靠RS-485连接。在单节点中,点对点系统支持全双工或半双工通信,根据波特率的不同,距离可达1km
对于多节点(更好地描述为DCS),EVAL-CN0416-ARDZ包括菊花链端口、可切换半/全双工操作和可切换终端,允许组装2到16个节点之间的系统。
由于Modbus被用作串行通信协议,通过串行链路在设备之间传输信息,因此无论规模大小,都可以获得简单、可靠和健壮的系统。PLC/DCS应用硬件栈由三种不同的参考设计组成。
模拟输入板
图3所示的CN-0414用于测量四个全差分或八个单端电压和四个电流信号。该电路的核心是一个低功耗、低噪声的24位∑-Δ模数转换器(ADC),集成了±10 V和20毫安的模拟前端。
电压输入支持高达±10 V的输入范围。AD4111具有一个独特的功能,当在5 V或3.3 V单电源上工作时,可以在±10 V电压输入上进行开路检测,而以前的解决方案通常需要大于±10 V的电源。
电流输入支持0至24毫安的输入范围。电路的输入阻抗为250Ω(AD4111内部为60Ω),所有输入均参考隔离接地。电流输入端的250Ω输入阻抗是使AD5700-1 HART兼容调制解调器与AD4111一起工作所必需的。
电路的模拟前端AD4111和AD5700-1通过ADuM5411和ADum315与处理侧隔离,与基于离散变压器的解决方案相比,节省了大量空间。
CN-0414板由9.5 V至36 V直流电源供电,这是典型的工业自动化系统,因此很容易改装到您的系统中。
Figure 3. Analog Input Board
模拟输出板
图4所示的CN-0418是基于AD5755-1 DAC的四通道电压和电流输出板,具有动态功率控制。
该电路提供4毫安至20毫安的电流输出,以及单极或双极电压输出(±10伏)。该板还包括AD5700-1哈特调制解调器,以提供完整的模拟输出解决方案与哈特连接。外部瞬态保护电路也包括在内,这对位于恶劣工业环境中的应用非常重要。
电流和电压输出在单独的管脚上可用,但一次只有一个管脚处于活动状态,因此允许两个输出管脚连接在一起并连接到一个端子。模拟输出短路,开路保护。
AD5755-1包含使用dc-dc升压变换器电路的集成动态功率控制,允许在电流输出模式下降低功耗。
AD5755-1有四个图表管脚,对应于四个输出通道中的每一个。HART信号可以耦合到这些管脚中,如果该输出被启用,则会出现在相应的输出上。
RS-485收发器板
图5所示的CN-0416是一个隔离和非隔离的RS-485收发器板,它允许在多个系统或节点之间轻松实现数据传输,特别是远距离传输。
电路使用ADM2682E RS-485收发器进行隔离通信,LTC2865用于非隔离RS-485通信。两者都可以配置为全双工或半双工操作,以及开放或终止传输线。
该电路具有板载RJ-45插孔,允许使用普通的5类以太网电缆进行节点的快速物理布线。终端电阻默认设置为CAT5电缆特性阻抗100Ω,但可以配置为支持标准RS-485电缆阻抗120Ω。
ADM2682E的数据速率高达16Mbps,并具有真正的故障保护接收器输入和调整的差分电压阈值。它使用iCoupler数据通道提供5千伏信号隔离,使用等功率集成dc-dc转换器提供5千伏电源隔离。
LTC2865的数据速率可达20 Mbps,并具有完全故障保护接收器输入。内部窗口比较器在不需要调整差分输入电压阈值的情况下确定故障安全条件。
图5.RS-485收发器板
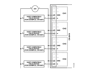
HART-Compatible Field的现场设备布线

图6. HART-Compatible的现场设备布线
HART网络
HART设备可以在点对点或多点两种网络配置中运行。
在点对点模式下,4毫安至20毫安的信号用于传送一个过程变量,而附加的过程变量、配置参数和其他设备数据则使用HART协议进行数字传输。4毫安至20毫安模拟信号不受哈特信号影响,可用于控制。HART协议允许访问可用于操作、调试、维护和诊断目的的二次变量和其他数据。
Modbus协议
运行在EVAL-ADICUP3029上的软件实现了Modbus协议,这是一个事实上的、开放的工业通信标准。Modbus提供了一种与单个节点交换数据的健壮方法,CRC错误检测确保了数据的完整性。作为一个开放的标准,有许多开源和商用Modbus软件库可供使用,目标是各种平台(如Windows?、Linux?、嵌入式平台等)。
该软件还提供了一个简单的命令行界面(CLI)模式,允许从串行终端手动验证系统,而不需要在主机上安装任何其他软件。
硬件和软件堆栈
PLC/DCS节点系统软硬件堆栈如图7所示。

图7. PLC/DCS节点系统软硬件堆栈
配置完PLC/DCS硬件后,用户通常会根据语言(如C、Python、MATLAB)和主机平台(如Linux、Windows、embedded)选择合适的Modbus库。然后必须编写一个简单的测试应用程序,将模拟和HART参数转换为Modbus寄存器地址和值
CN-0435用户指南提供了此应用程序的Modbus寄存器映射的完整描述,并使用开源Modbus调试器验证了Modbus的符合性
还提供了几个顶级应用程序示例,这些应用程序构建在开源Modbus库上,包括以下内容: 检测系统配置:查询所有Modbus节点并显示配置。
读或写输出保持寄存器:检查或改变所有检测板上输出保持寄存器的状态。
读取模拟输入寄存器:检查所有检测板上输入寄存器的状态。
读取模拟数据:读取单个模拟输入或所有模拟输入,并将数据显示到控制台。
写入模拟数据:写入模拟输出以产生电压或电流。
模拟回波:从模拟输入板读取模拟电压或电流,并将相同的模拟电压或电流写入模拟输出板。
常见变化
CN-0435软件读取模拟输入值并写入模拟输出值,无需本地处理。该软件可以扩展到包括故障监测和响应或闭环PID控制回路等功能,将这些功能从主机上卸载,并在通信总线上节省带宽。
覆盆子皮可以作为一个紧凑和低成本的主机解决方案。Raspberry Pi提供有线或无线以太网连接,它可以直接连接到EVAL-ADICUP3029的USB-UART。
目前使用的三种最常见的Modbus版本是Modbus ASCII、Modbus RTU和Modbus TCP。所有Modbus消息都以相同的格式发送。三种Modbus类型之间的唯一区别在于如何对消息进行编码。
可以通过Modbus连接的设备数量取决于物理层和数据协议。如果RS-485物理层与Modbus RTU或Modbus ASCII数据协议一起使用,则可以寻址的最大节点数为32,而如果以太网物理层与Modbus TCP数据协议一起使用,则可以寻址247个节点。
设备地址是一个从0到247的数字。发送到地址0(广播消息)的消息可以被所有从机接受,但从1到247的数字是特定设备的地址。
CN-0414和CN-0418的Arduino外形确保了与支持多种其他自动化通信协议的开发平台的兼容性,这些协议包括过程现场网(PROFINET)、过程现场总线(PROFIBUS)、控制自动化技术以太网(EtherCAT)、以太网/IP、Modbus Plus等。
电路评估与测试
概述开始参考演示所需的必要设备和一般步骤。可以使用软件的CLI选项组装和测试DCS系统的基本功能。
所需设备
The following equipment is needed:
PC with a USB port and Windows 7 (32-bit) or higher
Serial terminal program such as TeraTerm or Putty
One or more EVAL-CN0414-ARDZ circuit evaluation board and/or EVAL-CN0418-ARDZ circuit evaluation board for every node
One or more EVAL-CN0416-ARDZ circuit evaluation board for the Modbus interface and another EVAL-CN0416-ARDZ board for every node
One ADALM-UARTJTAG evaluation board with an additional EVAL-CN0416-ARDZ board (or other halfduplex RS-485 adapter)
One EVAL-ADICUP3029 evaluation board for each node
Micro USB cable
One RJ-45 cable for the RS-485 interface and another for every node
PLC system software or pre-built hex file
A 24 V DC at 1 A power supply
入门
以下是设置的基本步骤:
1. 将EVAL-ADICUP3029的USB电缆插入PC,并将固件闪存到每个使用过的板上。
2.配置硬件。遵循分布式控制系统(DCS)演示Wiki用户指南。确保每个板上的跳线和开关设置正确。可选地,对于模拟输入板,分别连接传感器或信号源,对于模拟输出板,连接执行器或万用表。
3. 对于每个节点,按以下顺序将平台和屏蔽板堆叠在一起:
EVAL-CN0416-ARDZ (top)
EVAL-CN0414-ARDZ or EVAL-CN0418-ARDZ (optional)
EVAL-CN0414-ARDZ or EVAL-CN0418-ARDZ (optional)
EVAL-CN0414-ARDZ or EVAL-CN0418-ARDZ (optional)
EVAL-CN0414-ARDZ or EVAL-CN0418-ARDZ (optional)
EVAL-ADICUP3029 (bottom)
4. 在节点和RS-485适配器(可能是ADALM-UARTJTAG和EVAL-CN0416-ARDZ)之间连接RJ-45电缆。
5.将RS-485适配器连接到主机。
6. 按下3029_重置按钮或关闭系统电源。
Figure 8. Single-Node PLC Analog I/O System
Figure 9. DCS Analog I/O System
上一篇:数字电路和模拟电路怎么区分
下一篇:怎么设计实现一阶数字滤波器
龙腾半导体SGT MOSFET LSGT085R018在智慧农业无