OPA2828 双通道、低噪声、36V JFET运算放大器技术手
阅读全文2025-03-25
阅读全文2025-03-25
阅读全文2025-03-25
阅读全文2025-03-25
INA310B 具有比较器的-4V 至110V、1.3MHz高精度电流检
阅读全文2025-03-25
INA310A 具有比较器的-4V至110V、1.3MHz超高精度电流
阅读全文2025-03-25
如何降低ADI LTM4702超低噪声µModule稳压器的输出开
阅读全文2025-03-25
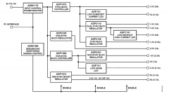
25W通用电源模块CN0190参考设计(基于ADP1872、ADP
阅读全文2025-03-25
阅读全文2025-03-25
阅读全文2025-03-25