全球最实用的IT互联网站!
人工智能P2P分享搜索全网发布信息网站地图标签大全
数字电子设计的多功能数字钟实现方案
阅读全文2020-09-23
模拟电路设计的注意事项
阅读全文2020-09-21
汽车、5G电源和光伏是SiC发展的主要驱动力,模块
阅读全文2020-09-04
模拟电路和数字电路的一些基本理论
开关电路应用:三极管的推挽型射极跟随器
什么是模拟量?什么是AI和什么是AO?AI是输入还
阅读全文2020-09-03
ABAQUS计算常用的解决不收敛问题的方法
阅读全文2020-09-02
基于LT5400的电阻器产生的误差统计
怎么设计实现一阶数字滤波器
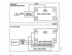
一文读懂PLC/DCS技术电路说明
阅读全文2020-09-01
数字电压表设计教程之LTC2308数据手册解读
慧能泰负载开关HUSB305A产品介绍
德州仪器新型单级转换器助力微型逆变器
IGBT短路失效分析
CPU | 内存 | 硬盘 | 显卡 | 显示器 | 主板 | 电源 | 键鼠 | 网站地图
Copyright © 2025-2035 诺佳网 版权所有 备案号:赣ICP备2025066733号 本站资料均来源互联网收集整理,作品版权归作者所有,如果侵犯了您的版权,请跟我们联系。