全球最实用的IT互联网信息网站!
AI人工智能P2P分享&下载搜索网页发布信息网站地图
设计低侧电流感应电路的三个步骤
阅读全文2018-03-12
详解DDR布线最简规则与过程
高效、低功耗和热优化,数模转换器起到关键作
灵活性和高集成度于一身,教你ADC驱动器配置
阅读全文2018-03-11
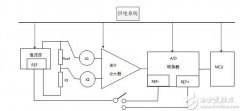
温度测量系统中高精度ADC设计
阅读全文2018-03-09
高效、低功耗和热优化设计,将彻底改变制造业
通过结合模块化设计,优化云计算应用
阅读全文2018-03-08
了解ADC输入电压和物理参数之间的关系
智能锁的三种电源拓扑,设计该选择哪一项?
提高系统精度的同时,如何降低系统设计难度和
阅读全文2018-03-07
数字电压表设计教程之LTC2308数据手册解读
慧能泰负载开关HUSB305A产品介绍
德州仪器新型单级转换器助力微型逆变器
IGBT短路失效分析
CPU | 内存 | 硬盘 | 显卡 | 显示器 | 主板 | 电源 | 键鼠 | 网站地图
Copyright © 2025-2035 诺佳网 版权所有 备案号:赣ICP备2025066733号 本站资料均来源互联网收集整理,作品版权归作者所有,如果侵犯了您的版权,请跟我们联系。