TPS22970 是一款节省空间的小型负载开关,具有受控导通功能,可减少浪涌电流。该器件包含一个 N 沟道 MOSFET,可在 0.65 V 至 3.6 V 的输入电压范围内工作,脉冲开关电流高达 4 A。集成电荷泵对 NMOS 开关进行偏置,以实现最小的开关导通电阻 (R 上 ).该开关由开和关输入 (ON) 控制,该输入能够直接与低压控制信号连接。
当结温高于阈值时,TPS22970 能够进行热关断,从而关闭开关。当结温稳定到安全范围时,开关再次打开。
*附件:tps22970.pdf
TPS22970 具有一个 150 Ω 片上电阻器,可在开关禁用时对输出进行快速放电,以避免下游负载的浮动电源导致任何未知状态。
TPS22970 具有内部控制的上升时间,以减少浪涌电流。
TPS22970 采用超小型、节省空间的 8 引脚 WCSP 封装,可在 –40°C 至 +105°C 的自然空气温度范围内工作。
特性
- 输入电压范围 (V
在 ):0.65 V 至 3.6 V - 导通电阻
- R
上V 时 = 4.7 mΩ(典型值) 在 ≥ 1.8 V - R
上V 时 = 5.1 mΩ(典型值) 在 = 1.05 伏 - R
上V 时 = 6.4 mΩ(典型值) 在 = 0.65 伏
- 最大连续开关电流 (I
麦克斯 ): 4 安培 - ON 状态 (I
Q ):V 时为 30 μA(典型值) 在 > 1.2 V - 关闭状态 (I
标清 ):V 时为 1 μA(典型值) 在 > 1.8 V - 受控转换速率以避免浪涌电流
- 3.6 V 导通时间 (t
上 ): 1530 微秒 - 0.65 V 导通时间 (t
上 ): 815 微秒
- 低阈值使能 (ON) 支持使用低至 0.9 V (V 的逻辑)
IH 系列 ) 的 Logic - 热关断 (T
标清 ) - 快速输出放电 (QOD):150-Ω(典型值)
参数

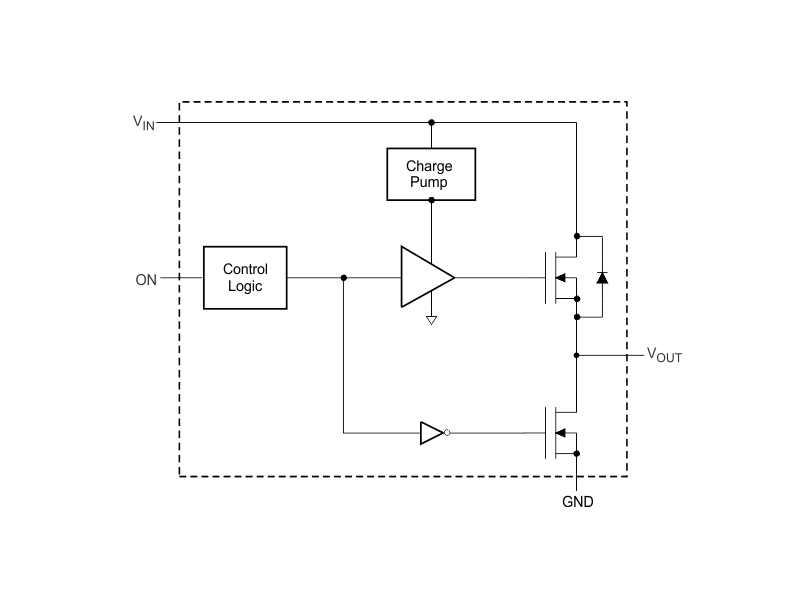
方框图

1. 概述
TPS22970是一款小型、节省空间的负载开关,具有控制开启时间以限制涌入电流的功能。它采用N沟道MOSFET,可在0.65V至3.6V的输入电压范围内工作,并支持高达4A的脉冲开关电流。该器件集成了控制逻辑、驱动器、电源和输出放电FET,无需额外的外部组件。
2. 主要特性
- 输入电压范围:0.65V至3.6V
- 开启电阻(R ON) :
- V IN ≥1.8V时,典型值为4.7mΩ
- V IN =1.05V时,典型值为5.1mΩ
- V IN =0.65V时,典型值为6.4mΩ
- 最大连续开关电流(I MAX) :4A
- 开启状态静态电流(I Q) :V IN >1.2V时,典型值为30µA
- 关闭状态静态电流(I SD) :V IN >1.8V时,典型值为1µA
- 控制开启时间以避免涌入电流:
- 3.6V开启时间(t ON):1530µs
- 0.65V开启时间(t ON):815µs
- 低阈值使能(ON) :支持低至0.9V的逻辑电平
- 热关断(T SD)
- 快速输出放电(QOD) :典型值为150Ω
3. 应用
4. 功能描述
- 开启与关闭控制:通过ON引脚控制开关状态,ON引脚与标准GPIO逻辑兼容,可与任何具有1.2V、1.8V、2.5V或3.3V GPIO的微控制器配合使用。
- 快速输出放电(QOD) :当开关禁用时,在VOUT和GND之间连接一个放电电阻,防止输出浮动。
5. 封装与尺寸
- 封装类型:8引脚WCSP(YZP)
- 尺寸:1.90mm × 0.90mm
6. 热特性
- 结到环境热阻(R θJA) :130°C/W
- 结到顶部外壳热阻(R θJC(top)) :54°C/W
- 结到板热阻(R θJB) :51°C/W
7. 电气特性
- 开启电阻(R ON) :随输入电压和温度变化,例如在25°C下,V IN ≥1.8V时R ON 为4.7mΩ至8.5mΩ。
- 输出下拉电阻(R PD) :V IN =3.6V时,典型值为150Ω;V IN =0.65V时,典型值为710Ω。
- 热关断阈值:结温升至170°C时触发。
8. 开关特性
- 开启时间(t ON) :随输入电压和负载条件变化,例如在V IN =3.6V、C L =0.1µF、R L =10Ω时,典型值为1530µs。
- 关闭时间(t OFF) :同样随输入电压和负载条件变化,例如在V IN =3.6V、C L =0.1µF、R L =10Ω时,典型值为3.2µs。
9. 布局指南
- 所有走线应尽可能短,以获得最佳性能。
- 使用宽走线连接V IN、V OUT和GND,以最小化寄生电气效应和结到环境热阻。
10. 设计资源与支持
- 提供相关的设计文档和评估模块用户指南。
- 可通过TI的E2E在线社区获取技术支持和设计帮助。
这份总结涵盖了TPS22970的主要特性、应用、功能描述、封装信息、热特性、电气特性、开关特性、布局指南以及设计资源与支持,为用户提供了全面的产品概述。