全球最实用的IT互联网信息网站!
AI人工智能P2P分享&下载搜索网页发布信息网站地图
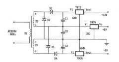
稳压电源的工作原理 稳压电源电路图详解
阅读全文2023-08-02
2023年6月深圳市新能源商用车销量数据分析报告
逆变器外部电位器连接办法
中微爱芯电平转换芯片TS、TB、LS系列简介
罗姆的氮化镓解决方案优势及路线图
用分析工具制造更好的电池
三元电池和锂电池有什么区别
什么是并网型光伏发电系统?
一种具有NR/SS引脚的NMOS LDO
星坤电子参加“2023广东新能源汽车-新型储能产业
两款SiC MOSFET在智能断路器中的应用分析
LM2773系列 低纹波1.8V/1.6V扩频开关电容降压
TPS63810 2.5A 高效降压-升压转换器,带 I²
TPS63900 1.8V 至 5.5V、75nA IQ 降压-升压转换器
CPU | 内存 | 硬盘 | 显卡 | 显示器 | 主板 | 电源 | 键鼠 | 网站地图
Copyright © 2025-2035 诺佳网 版权所有 备案号:赣ICP备2025066733号 本站资料均来源互联网收集整理,作品版权归作者所有,如果侵犯了您的版权,请跟我们联系。